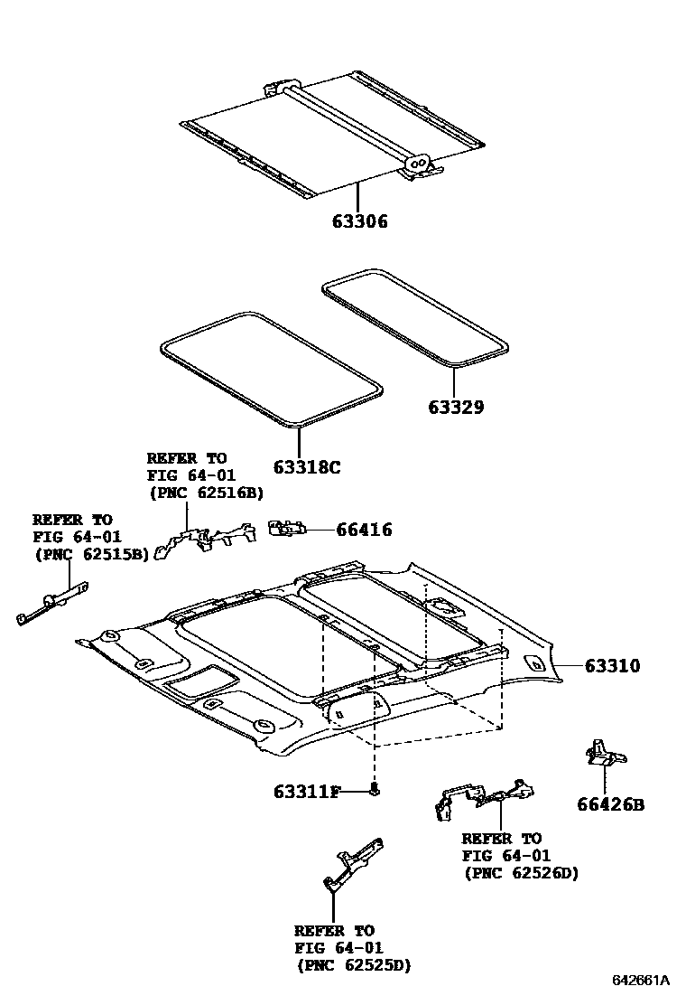
Toyota ZELAS — ROOF HEADLINING & SILENCER PAD

63306TRIM SUB-ASSY, SUNSHADE
GLASS ROOF-WITHOUT,DK.GRAY,TRIM1#
DK.GRAY,TRIM1#
MD.GRAY,TRIM1#
GLASS ROOF-WITHOUT,MD.GRAY,TRIM1#
63310HEADLINING ASSY, ROOF
DK.GRAY,TRIM1#
MD.GRAY,TRIM1#
DK.GRAY,TRIM1#
MD.GRAY,TRIM1#
63311FCLIP, ROOF HEADLINING, NO.1
63318CMOULDING, SUN ROOF OPENING TRIM
MD.GRAY,TRIM1#
BLACK,TRIM1#
63329MOULDING, SUN ROOF OPENING TRIM, NO.2
MD.GRAY,TRIM1#
BLACK,TRIM1#
6401
66416SPACER, SIDE RAIL, REAR NO.3 RH
66426BSPACER, SIDE RAIL, REAR NO.3 LH
8 parts on this diagram · 2 diagrams in section