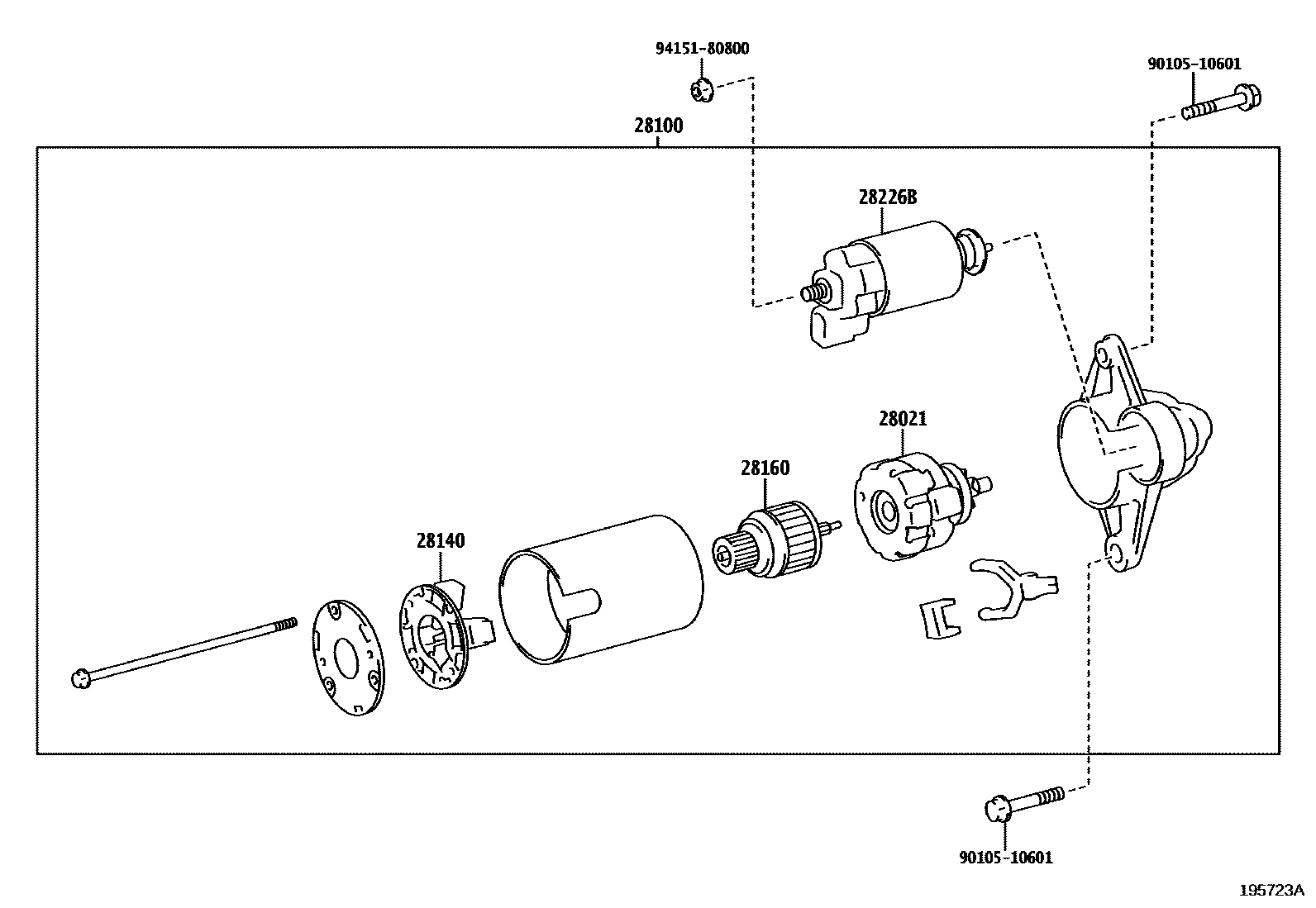
Toyota YARIS — STARTER

28021CLUTCH SUB-ASSY, STARTER CENTER BEARING
28100STARTER ASSY
12V 1.0KW
28140HOLDER ASSY, STARTER BRUSH
28160ARMATURE ASSY, STARTER
28226BSTARTER KIT, REPAIR SERVICE
9010510601
main90105-10601
9415180800
main94151-80800
7 parts on this diagram · 1 diagram in section