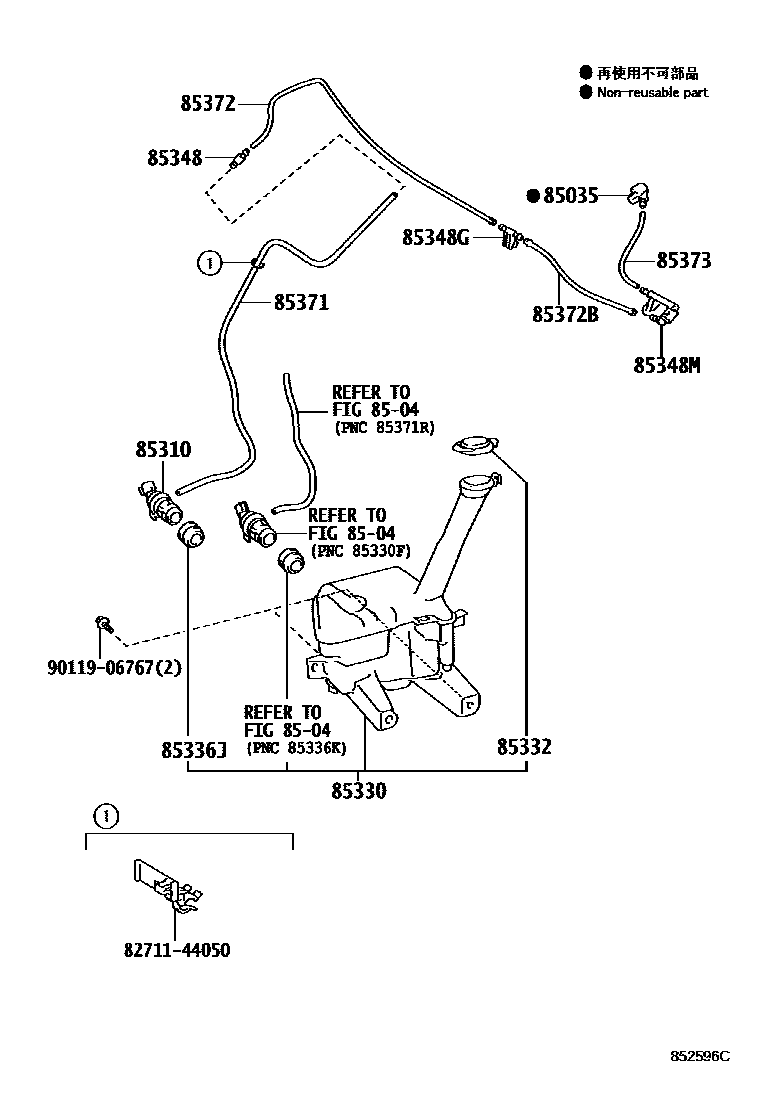
Toyota YARIS (JPP) — WINDSHIELD WASHER

85035NOZZLE SUB-ASSY, WASHER
8504REAR WASHER
85310MOTOR AND PUMP ASSY, WINDSHIELD WASHER
85330JAR ASSY, WINDSHIELD WASHER
85332CAP, WINDSHIELD WASHER JAR
85336JPROTECTOR, WASHER JAR
85348JOINT, WINDSHIELD WASHER HOSE, NO.1
85348GJOINT, WINDSHIELD WASHER HOSE, NO.2
85348MJOINT, WINDSHIELD WASHER HOSE, NO.3
85371HOSE, WINDSHIELD WASHER (FROM MOTOR TO JOINT)
L=1450(*H,L=740)
85372HOSE, WINDSHIELD WASHER (FROM JOINT TO JOINT), NO.1
L=1450(*H,L=920)
85372BHOSE, WINDSHIELD WASHER (FROM JOINT TO JOINT), NO.2
L=1450(*H,L=290)
85373HOSE, WINDSHIELD WASHER (FROM JOINT TO NOZZLE)
L=1450(*H,L=150)
8271144050WIRE, FUSE TO FUSE(FOR COMBUSTION HEATER)
main82711-44050
9011906767
main90119-06767
15 parts on this diagram · 2 diagrams in section
WINDSHIELD WASHER for Toyota YARIS (JPP)
This section contains 16 genuine Toyota parts for the WINDSHIELD WASHER system of the Toyota YARIS (JPP). Key components include: NOZZLE SUB-ASSY, WASHER, REAR WASHER, MOTOR AND PUMP ASSY, WINDSHIELD WASHER, JAR ASSY, WINDSHIELD WASHER, CAP, WINDSHIELD WASHER JAR.