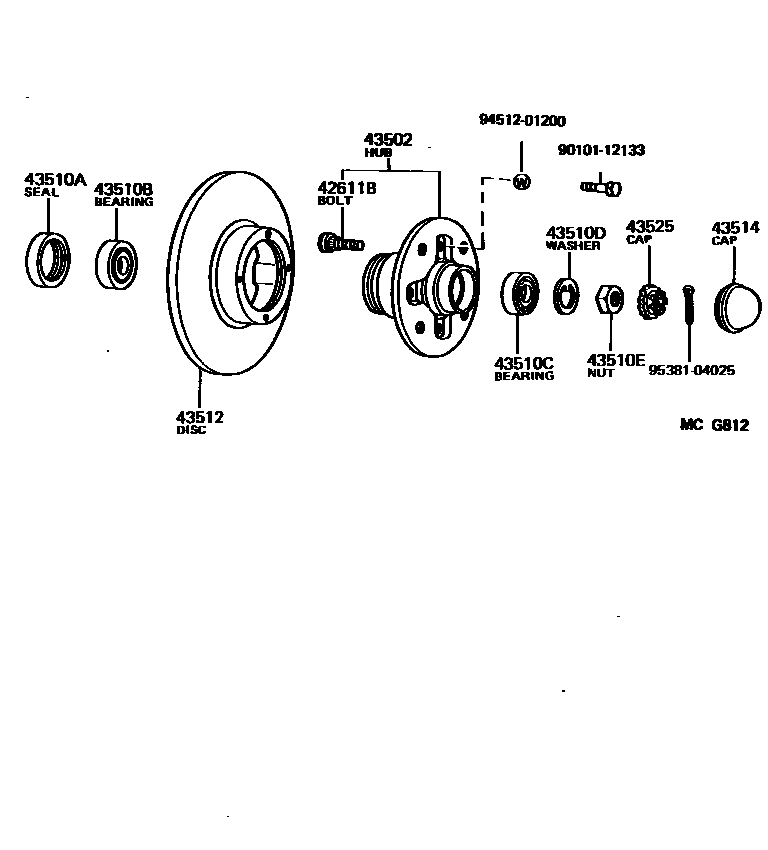
Toyota VAN — FRONT AXLE HUB

42611BBOLT, HUB (FOR FRONT AXLE)
43510ASEAL, OIL (FOR FRONT AXLE HUB)
43510BBEARING, TAPERED ROLLER (FOR FRONT AXLE INNER BEARING)
43510CBEARING, TAPERED ROLLER (FOR FRONT AXLE OUTER BEARING)
43510DWASHER, CLAW (FOR STEERING KNUCKLE WASHER)
43510ENUT (FOR STEERING KNUCKLE)
43514CAP, FRONT HUB GREASE
43525CAP, FRONT WHEEL ADJUSTING LOCK
9010112133
main90101-12133
9451201200
main94512-01200
9538104025
main95381-04025
13 parts on this diagram · 3 diagrams in section