E
EPC Data

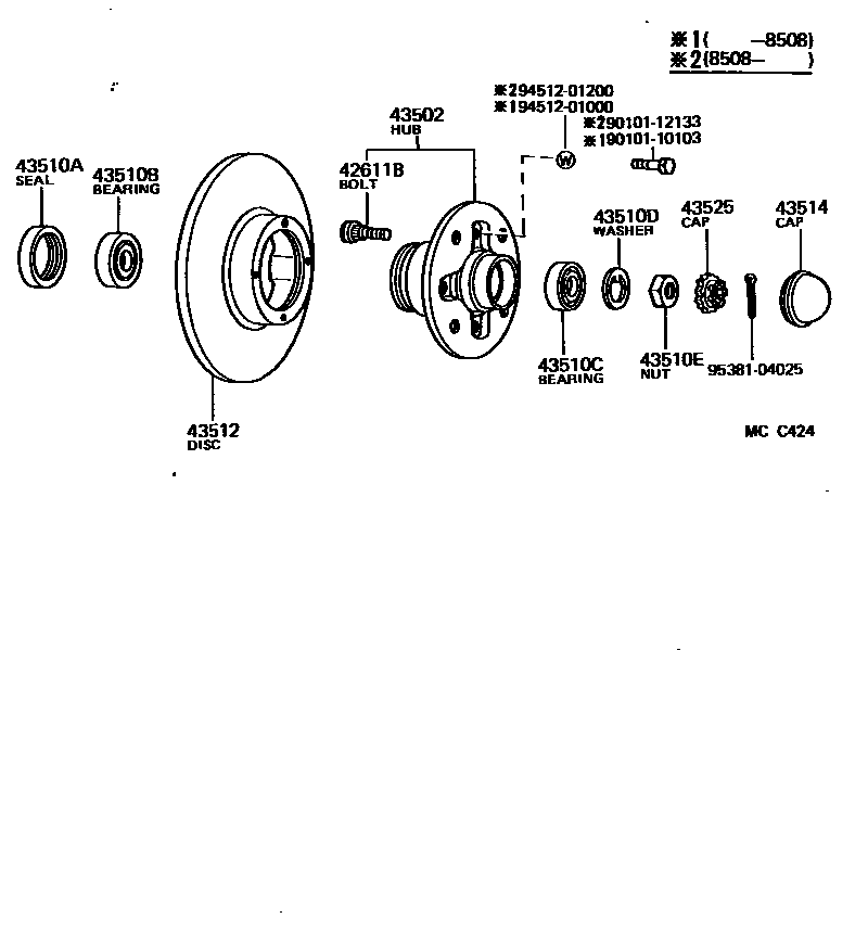
Toyota VANFRONT AXLE HUB

Parts diagram
42611BBOLT, HUB (FOR FRONT AXLE)
main90942-02036×8i198308-198309
main90942-02047×10i198608-198808
main90942-02048×8i198309-198808
43502HUB SUB-ASSY, FRONT AXLE
main43502-20010×2i198308-198508
main43502-28020×2i198608-198808
main43502-28030×2i198508-198808
43510ASEAL, OIL (FOR FRONT AXLE HUB)
main90311-48001×2i198308-198808
main90311-66002×2i198608-198808
43510BBEARING, TAPERED ROLLER (FOR FRONT AXLE INNER BEARING)
main90366-50011×2i198608-198808
main90368-31067×2i198308-198808
43510CBEARING, TAPERED ROLLER (FOR FRONT AXLE OUTER BEARING)
main90368-19037×2i198308-198808
main90368-45087×2i198608-198808
43510DWASHER, CLAW (FOR STEERING KNUCKLE WASHER)
main90214-20005×2i198308-198808
main90214-42030×2i198608-198808
43510ENUT (FOR STEERING KNUCKLE)
main90170-19185×2i198308-198808
43512DISC, FRONT
main43512-28030×2i198308-198508
main43512-28040×2i198608-198808
main43512-28050×2i198508-198808
43514CAP, FRONT HUB GREASE
main43514-27010×2i198308-198808
43525CAP, FRONT WHEEL ADJUSTING LOCK
main43525-22010×2i198308-198808
9010110103
9010112133
9451201000
9451201200
9538104025

15 parts on this diagram · 3 diagrams in section

Toyota VAN FRONT AXLE HUB — Parts Diagram | EPC Data