E
EPC Data

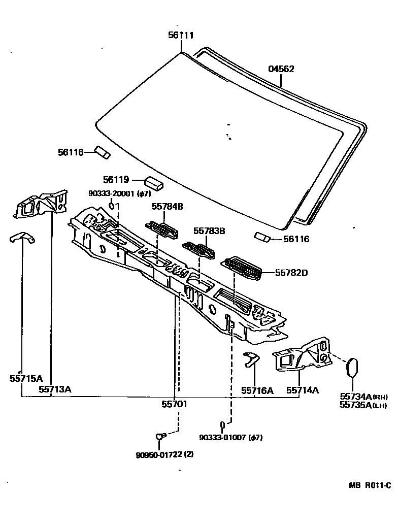
Toyota TERCELCOWL PANEL & WINDSHIELD GLASS

Parts diagram
04562DAM KIT, WINDSHIELD GLASS
main04562-30040i198808-199009
55701PANEL SUB-ASSY, COWL
main55700-16110i198808-199009
main55700-16150i198808-199009
main55700-16170i198908-199009
55713APANEL, COWL TOP SIDE, RH
main55713-16030i198808-199009
55714APANEL, COWL TOP SIDE, LH
main55714-16030i198808-199009
55715ABRACE, COWL TOP TO APRON, RH
main55715-16030i198808-199009
55716ABRACE, COWL TOP TO APRON, LH
main55716-16030i198808-199009
55734APLATE, WATER GUARD, RH
main55734-16030i198808-199009
55735APLATE, WATER GUARD, LH
main55734-16030i198808-199009
55782DLOUVER, COWL TOP VENTILATOR, LH
main55782-16010i198808-199009
main55782-16020i198808-199009
COLD SPEC
55783BLOUVER, COWL TOP VENTILATOR, CENTER NO.1
main55783-16040i198808-199009
main55783-16050i198808-199009
COLD SPEC
55784BLOUVER, COWL TOP VENTILATOR, CENTER NO.2
main55784-16020i198808-199009
main55784-16030i198808-199009
COLD SPEC
56111GLASS, WINDSHIELD
main56111-16150i198808-199009
*LAM,T=5.3
main56111-16160i198808-199009
*TL,T=5.3
main56111-16170i198808-198908
*TL,T=5.3
main56111-16180i198808-198908
*TL,T=5.3
56116SPACER, WINDSHIELD GLASS
main56116-24010×2i198808-199009
56119SEAL, WINDSHIELD GLASS
main67272-32010i198808-199009
9033301007
9033320001
9095001722

17 parts on this diagram · 1 diagram in section

Toyota TERCEL COWL PANEL & WINDSHIELD GLASS — Parts Diagram | EPC Data