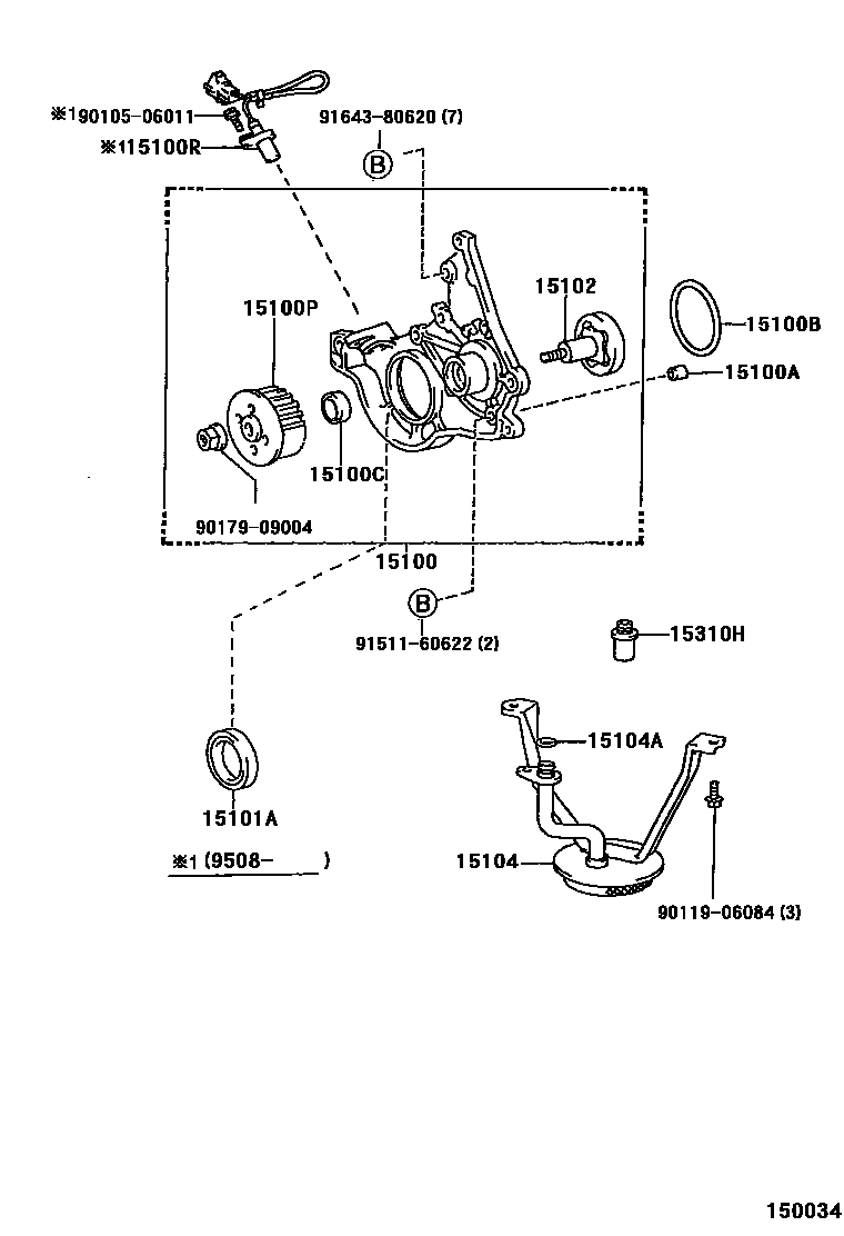
Toyota TERCEL — ENGINE OIL PUMP

15100PUMP ASSY, OIL
15100APIN, RING(FOR OIL PUMP SET)
15100CSEAL(FOR OIL PUMP)
15100RSENSOR, CRANK POSITION
15101ASEAL(FOR CRANKSHAFT)
15104STRAINER SUB-ASSY, OIL
W(STEEL TYPE ENGINE UNDER COVER)
15104ARING, O(FOR OIL STRAINER)
15310HREGULATOR ASSY, OIL
9010506011
main90105-06011
9011906084
main90119-06084
9017909004
main90179-09004
9151160622
main91511-60622
9164380620
main91643-80620
16 parts on this diagram · 1 diagram in section
ENGINE OIL PUMP for Toyota TERCEL
This section contains 16 genuine Toyota parts for the ENGINE OIL PUMP system of the Toyota TERCEL. Key components include: PUMP ASSY, OIL, PIN, RING(FOR OIL PUMP SET), RING, O(FOR OIL PUMP), SEAL(FOR OIL PUMP), PULLEY, OIL PUMP DRIVE SHAFT.