E
EPC Data

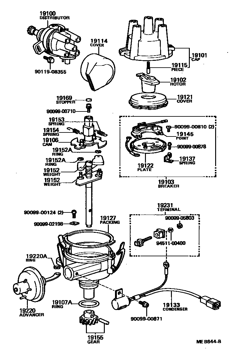
Toyota TERCELDISTRIBUTOR

Parts diagram
19100DISTRIBUTOR ASSY
main19020-15110i198511-198801
main19030-15060i198605-198801
main19100-14050i198205-198408
main19100-14060i198205-198408
main19100-14070i198205-198408
main19100-15090i198208-198801
main19100-15100i198208-198408
main19100-15110i198605-198801
SWEDEN SPEC
main19100-15120i198308-198511
main19100-15130i198408-198801
19101CAP SUB-ASSY, DISTRIBUTOR
main19101-11010i198511-198801
main19101-15010i198511-198605
main19101-15090i198605-198801
19102ROTOR SUB-ASSY, DISTRIBUTOR
main19102-10020i198507-198601
main19102-11010i198511-198801
main19102-26150i198205-198507
main19102-26151i198601-198605
main19102-33012i198505-198511
main19102-63010i198605-198801
19103BREAKER SUB-ASSY, DISTRIBUTOR
main19103-14010i198205-198511
19106CAM SUB-ASSY, DISTRIBUTOR
main19106-14050i198605-198801
SWEDEN SPEC
19107ARING, O, DISTRIBUTOR HOUSING
main96710-04030i198205-198409
main96711-35030i198409-198801
19114COVER, WATER PROOF(FOR DISTRIBUTOR)
main19114-14010i198209-198408
COLD SPEC
main19114-15020i198605-198801
COLD SPEC
19115PIECE, DISTRIBUTOR CAP, CENTER
main19115-50010i198605-198801
SWEDEN SPEC
main19115-63010×2i198705-198801
main19115-71010×2i198605-198705
19121COVER, DUST PROOF
main19121-11010i198511-198603
main19121-11080i198603-198801
main19121-15090i198605-198801
NO.2
main19121-38030i198205-198511
main19121-63040i198605-198801
NO.1
19122PLATE, STATIONARY, DISTRIBUTOR
main19122-14010i198605-198801
SWEDEN SPEC
19127PACKING, DUST PROOF
main19127-11010i198511-198801
main19127-15010i198511-198605
main19127-15090i198605-198801
NO.2
main19127-63020i198605-198801
NO.1
19133CONDENSER, DISTRIBUTOR
main90099-52076i198605-198801
SWEDEN SPEC
19137SPRING SUB-ASSY, DAMPER
main19137-14010i198605-198801
SWEDEN SPEC
19145POINT, DISTRIBUTOR
main19145-14010i198605-198801
SWEDEN SPEC
19152WEIGHT, GOVERNOR
main19152-15160×2i198511-198605
main19152-44170×2i198605-198801
SWEDEN SPEC
19152ARING, SNAP(FOR GOVERNOR WEIGHT)
main90099-07109×2i198605-198801
SWEDEN SPEC
main90099-07122×2i198605-198801
19153SPRING, GOVERNOR, A
main19153-14050i198205-198408
main19153-15120i198605-198801
SWEDEN SPEC
main19153-15200i198605-198801
main19153-15210i198511-198801
main19153-15240i198408-198801
19154SPRING, GOVERNOR, B
main19154-14050i198205-198408
main19154-15120i198605-198801
SWEDEN SPEC
main19154-15200i198605-198801
main19154-15240i198408-198801
main19154-15290i198511-198801
19155GEAR, SPIRAL, DISTRIBUTOR
main19195-15021i198511-198801
19169STOPPER, CAM GREASE
main19169-32010i198205-198402
main19169-63011i198402-198801
19220ADVANCER ASSY, VACUUM, DISTRIBUTOR
main19220-14050i198205-198408
main19220-14070i198205-198408
main19220-15120i198208-198408
main19220-15140i198605-198801
SWEDEN SPEC
main19220-15150i198605-198801
main19220-15200i198605-198801
main19220-15240i198308-198511
main19220-15300i198511-198801
19220ARING, SNAP(FOR DISTRIBUTOR VACUUM ADVANCER)
main90099-07109i198605-198801
SWEDEN SPEC
19231TERMINAL, DISTRIBUTOR
main19231-24140i198205-198511
9009900124
9009900710
9009900810
9009900871
9009900878
9009902198
9009905803
9011908355
9451100400

32 parts on this diagram · 3 diagrams in section