Toyota TERCEL — WINDSHIELD WASHER

1603
8504
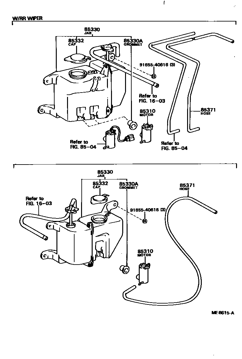
85310MOTOR AND PUMP ASSY, WINDSHIELD WASHER
85330ABUSH, WINDSHIELD WASHER JAR
85332CAP, WINDSHIELD WASHER JAR
W/RR WIPER
85371HOSE, WINDSHIELD WASHER (FROM MOTOR TO JOINT)
L=1450(*H,L=950)
9165540616
main91655-40616
8 parts on this diagram · 2 diagrams in section