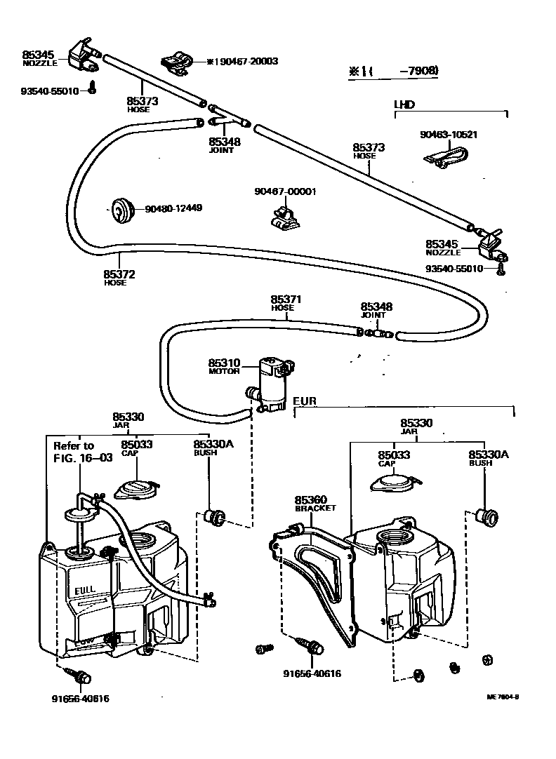
Toyota TERCEL — WINDSHIELD WASHER

1603
85033CAP ASSY, WINDSHIELD WASHER
85310MOTOR AND PUMP ASSY, WINDSHIELD WASHER
sub85310-22080
85330JAR ASSY, WINDSHIELD WASHER
COLD SPEC
85330ABUSH, WINDSHIELD WASHER JAR
85345NOZZLE, WINDSHIELD WASHER
RH
LH
85348JOINT, WINDSHIELD WASHER HOSE, NO.1
85360BRACKET ASSY, WINDSHIELD WASHER
85371HOSE, WINDSHIELD WASHER (FROM MOTOR TO JOINT)
L=1000(*H,L=400)
L=1000(*H,L=400)
85372HOSE, WINDSHIELD WASHER (FROM JOINT TO JOINT), NO.1
L=1450(*H,L=900)
L=1450(*H,L=900)
85373HOSE, WINDSHIELD WASHER (FROM JOINT TO NOZZLE)
L=1000(*H,L=80)
L=1000(*H,L=400)
9046310521
main90463-10521
9046700001
main90467-00001
9046720003
main90467-20003
9048012449
main90480-12449
9165640616
main91656-40616
9354055010
main93540-55010
17 parts on this diagram · 1 diagram in section