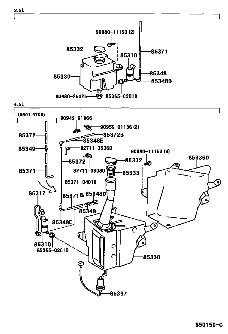
Toyota TACOMA — WINDSHIELD WASHER

85310MOTOR AND PUMP ASSY, WINDSHIELD WASHER
85317WIRING ASSY, WASHER
85330JAR ASSY, WINDSHIELD WASHER
W(LEVEL WARNING)
85332CAP, WINDSHIELD WASHER JAR
COLD SPEC OR W(*66) OR W(*CRC)
85333FILTER, WINDSHIELD WASHER JAR
85336DPACKING, WINDSHIELD WASHER JAR
85348JOINT, WINDSHIELD WASHER HOSE, NO.1
85348DJOINT, WINDSHIELD WASHER ELBOW, NO.1
COLD SPEC OR W(*66) OR W(*CRC)
85348EJOINT, WINDSHIELD WASHER ELBOW, NO.2
85349JOINT, WINDSHIELD WASHER HOSE, NO.1
85371HOSE, WINDSHIELD WASHER (FROM MOTOR TO JOINT)
L=350,COLD SPEC OR W(*66) OR W(*CRC)
L=340
85372HOSE, WINDSHIELD WASHER (FROM JOINT TO JOINT), NO.1
L=1250(*H,L=400); L=1250(*H,L=600)
L=1000(*H,L=400); L=1000(*H,L=400),COLD SPEC OR W(*66) OR W(*CRC)
85372BHOSE, WINDSHIELD WASHER (FROM JOINT TO JOINT), NO.2
L=1250(*H,L=760)
L=1450(*H,L=760)
85397SWITCH ASSY,LEVEL WARNING
8271133080WIRE, FUSE TO FUSE(FOR COMBUSTION HEATER)
main82711-33080
8271135360WIRE, FUSE TO FUSE(FOR COMBUSTION HEATER)
main82711-35360
8536502010INSULATOR, WINDSHIELD WASHER JAR
main85365-02010
8537104010HOSE, WINDSHIELD WASHER (FROM MOTOR TO JOINT)
main85371-04010
9008011153
main90080-11153
9048025025
main90480-25025
9094901966
main90949-01966
9095901136
main90959-01136
22 parts on this diagram · 3 diagrams in section
WINDSHIELD WASHER for Toyota TACOMA
This section contains 31 genuine Toyota parts for the WINDSHIELD WASHER system of the Toyota TACOMA. Key components include: NOZZLE SUB-ASSY, WASHER, MOTOR AND PUMP ASSY, WINDSHIELD WASHER, WIRING ASSY, WASHER, JAR ASSY, WINDSHIELD WASHER, CAP, WINDSHIELD WASHER JAR.