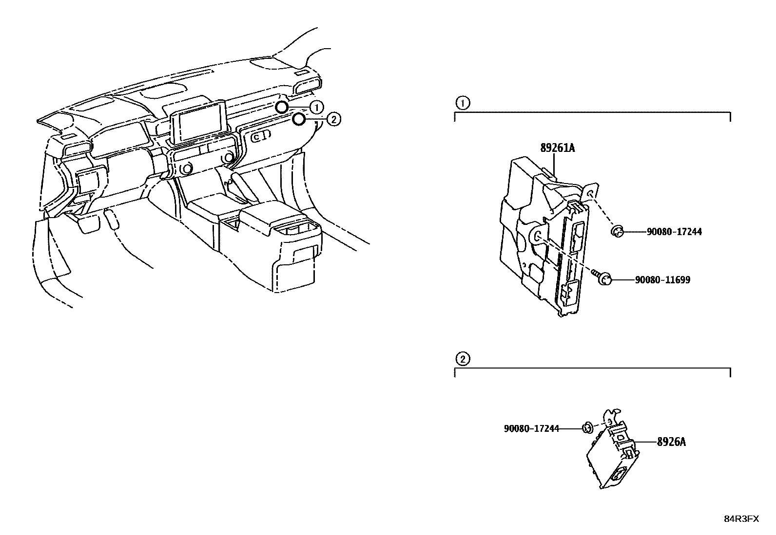
Toyota TACOMA — ECO-RUN SYSTEM

89261ACOMPUTER, ENGINE STOP AND START
LIMITED PACKAGE
MEXICO SPEC
8926AFILTER, ENGINE STOP & START SOLENOID
LIMITED PACKAGE
9008011699
main90080-11699
9008017244
main90080-17244
4 parts on this diagram · 1 diagram in section
ECO-RUN SYSTEM for Toyota TACOMA
This section contains 4 genuine Toyota parts for the ECO-RUN SYSTEM system of the Toyota TACOMA. Key components include: COMPUTER, ENGINE STOP AND START, FILTER, ENGINE STOP & START SOLENOID.