E
ToyotaEPC

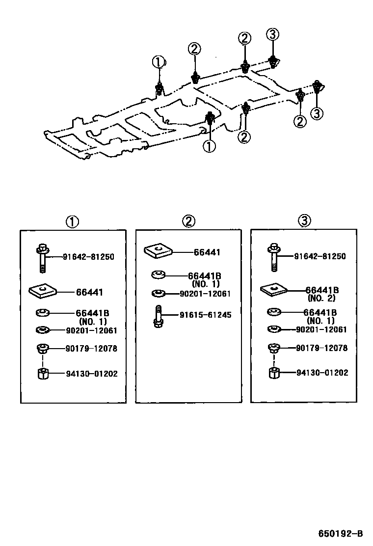
Toyota T.U.VREAR BODY MOUNTING

Parts diagram
66441SHIM, MOUNTING, NO.1
main66441-0B010×2i199902-200210
main66441-YZC01×6i200208
66441BSHIM, MOUNTING, NO.1
main65125-0B010×8i200210
NO.1
main65125-YZC01×8i200208
NO.1
main66446-0B010×2i199902-200210
NO.2
main66446-YZC01×2i200208
NO.2
9017912078
9020112061
9161561245
9164281250
9413001202

7 parts on this diagram · 2 diagrams in section

REAR BODY MOUNTING for Toyota T.U.V

This section contains 8 genuine Toyota parts for the REAR BODY MOUNTING system of the Toyota T.U.V. Key components include: SHIM, MOUNTING, NO.1, SHIM, MOUNTING, NO.2.

Toyota T.U.V REAR BODY MOUNTING — Parts Diagram | ToyotaEPC