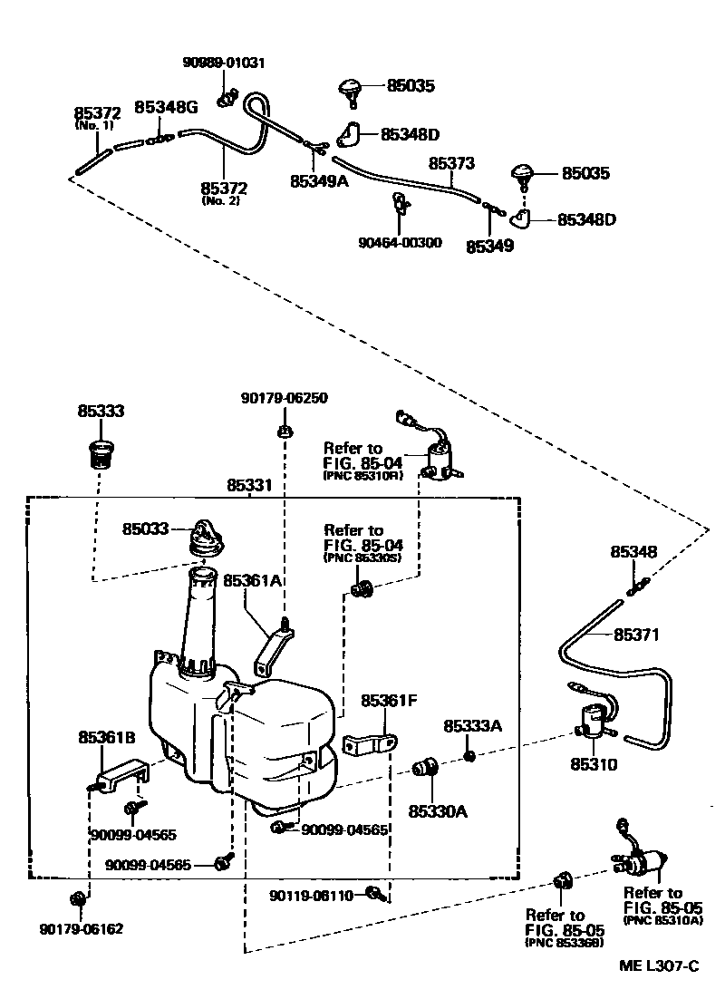
Toyota SUPRA — WINDSHIELD WASHER

85033CAP ASSY, WINDSHIELD WASHER
85035NOZZLE SUB-ASSY, WASHER
8504REAR WASHER
8505HEADLAMP CLEANER
85310MOTOR AND PUMP ASSY, WINDSHIELD WASHER
85330ABUSH, WINDSHIELD WASHER JAR
85331JAR SUB-ASSY, WINDSHIELD WASHER
85333FILTER, WINDSHIELD WASHER JAR
85333AFILTER, WINDSHIELD WASHER JAR, NO.2
85348JOINT, WINDSHIELD WASHER HOSE, NO.1
85348DJOINT, WINDSHIELD WASHER ELBOW, NO.1
85348GJOINT, WINDSHIELD WASHER HOSE, NO.2
85349JOINT, WINDSHIELD WASHER HOSE, NO.1
85349AJOINT, WINDSHIELD WASHER HOSE, NO.2
85361ABRACKET, WINDSHIELD WASHER, NO.1
85361BBRACKET, WINDSHIELD WASHER, NO.2
85361FBRACKET, WINDSHIELD WASHER, NO.3
85371HOSE, WINDSHIELD WASHER (FROM MOTOR TO JOINT)
L=1100
85372HOSE, WINDSHIELD WASHER (FROM JOINT TO JOINT), NO.1
L=1450,NO.1,NO.2
85373HOSE, WINDSHIELD WASHER (FROM JOINT TO NOZZLE)
L=1450
9009904565
main90099-04565
9011906110
main90119-06110
9017906162
main90179-06162
9017906250
main90179-06250
9046400300
main90464-00300
9098901031
main90989-01031
26 parts on this diagram · 1 diagram in section
WINDSHIELD WASHER for Toyota SUPRA
This section contains 26 genuine Toyota parts for the WINDSHIELD WASHER system of the Toyota SUPRA. Key components include: CAP ASSY, WINDSHIELD WASHER, NOZZLE SUB-ASSY, WASHER, REAR WASHER, HEADLAMP CLEANER, MOTOR AND PUMP ASSY, WINDSHIELD WASHER.