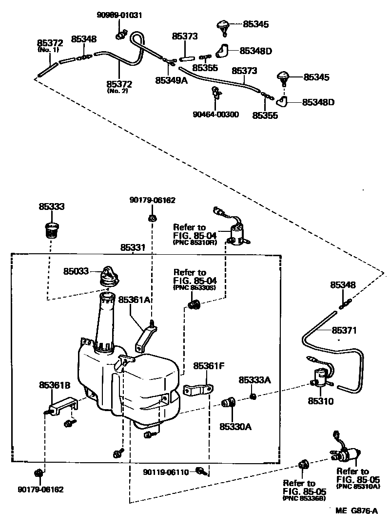
Toyota SUPRA — WINDSHIELD WASHER

85033CAP ASSY, WINDSHIELD WASHER
8504REAR WASHER
8505HEADLAMP CLEANER
85310MOTOR AND PUMP ASSY, WINDSHIELD WASHER
85330ABUSH, WINDSHIELD WASHER JAR
85333FILTER, WINDSHIELD WASHER JAR
85333AFILTER, WINDSHIELD WASHER JAR, NO.2
85345NOZZLE, WINDSHIELD WASHER
85348JOINT, WINDSHIELD WASHER HOSE, NO.1
85348DJOINT, WINDSHIELD WASHER ELBOW, NO.1
85349AJOINT, WINDSHIELD WASHER HOSE, NO.2
85355VALVE, WINDSHIELD WASHER HOSE
85361BBRACKET, WINDSHIELD WASHER, NO.2
85361FBRACKET, WINDSHIELD WASHER, NO.3
85371HOSE, WINDSHIELD WASHER (FROM MOTOR TO JOINT)
85372HOSE, WINDSHIELD WASHER (FROM JOINT TO JOINT), NO.1
85373HOSE, WINDSHIELD WASHER (FROM JOINT TO NOZZLE)
9011906110
main90119-06110
9017906162
main90179-06162
9046400300
main90464-00300
9098901031
main90989-01031
23 parts on this diagram · 1 diagram in section
WINDSHIELD WASHER for Toyota SUPRA
This section contains 23 genuine Toyota parts for the WINDSHIELD WASHER system of the Toyota SUPRA. Key components include: CAP ASSY, WINDSHIELD WASHER, REAR WASHER, HEADLAMP CLEANER, MOTOR AND PUMP ASSY, WINDSHIELD WASHER, BUSH, WINDSHIELD WASHER JAR.