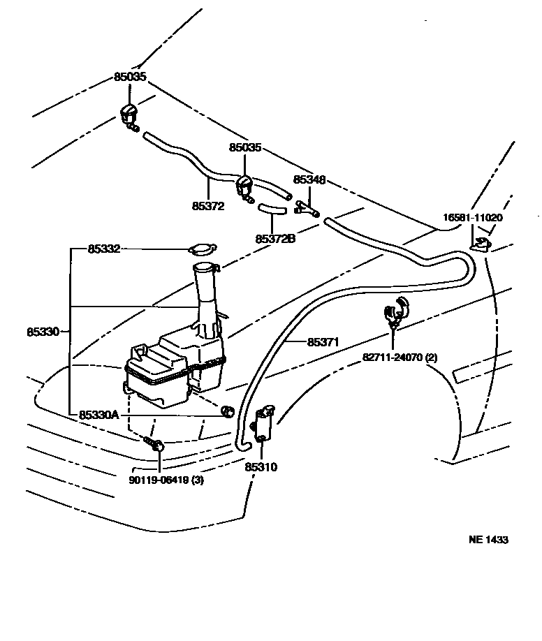
Toyota STARLET — WINDSHIELD WASHER

85035NOZZLE SUB-ASSY, WASHER
85310MOTOR AND PUMP ASSY, WINDSHIELD WASHER
85330JAR ASSY, WINDSHIELD WASHER
85330ABUSH, WINDSHIELD WASHER JAR
85332CAP, WINDSHIELD WASHER JAR
85348JOINT, WINDSHIELD WASHER HOSE, NO.1
85371HOSE, WINDSHIELD WASHER (FROM MOTOR TO JOINT)
85372HOSE, WINDSHIELD WASHER (FROM JOINT TO JOINT), NO.1
85372BHOSE, WINDSHIELD WASHER (FROM JOINT TO JOINT), NO.2
1658111020CLAMP, HOSE(FOR WATER HOSE)
main16581-11020
8271124070WIRE, FUSE TO FUSE(FOR COMBUSTION HEATER)
main82711-24070
9011906419
main90119-06419
12 parts on this diagram · 2 diagrams in section
WINDSHIELD WASHER for Toyota STARLET
This section contains 12 genuine Toyota parts for the WINDSHIELD WASHER system of the Toyota STARLET. Key components include: NOZZLE SUB-ASSY, WASHER, MOTOR AND PUMP ASSY, WINDSHIELD WASHER, JAR ASSY, WINDSHIELD WASHER, BUSH, WINDSHIELD WASHER JAR, CAP, WINDSHIELD WASHER JAR.