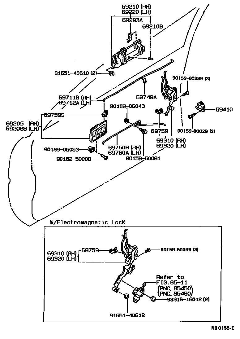
Toyota SPRINTER TRUENO — FRONT DOOR LOCK & HANDLE

69205HANDLE SUB-ASSY, FRONT DOOR INSIDE, RH
SHADOW GRAY,TRIM1#
BLUE,TRIM8#
69206BHANDLE SUB-ASSY, FRONT DOOR INSIDE, LH
SHADOW GRAY,TRIM1#
BLUE,TRIM8#
69210HANDLE ASSY, FRONT DOOR, OUTSIDE RH
BLACK M.,205
SUPER RED 2,3E5
DARK GRAY M.,23M
DARK BLUE MICA M.,8E9
GRAYISH GREEN M.,6K6
SUPER WHITE 2,040
SUPER WHITE 2,040
SUPER RED 2,3E5
69210BCUSHION(FOR FRONT DOOR OUTSIDE HANDLE)
69220HANDLE ASSY, FRONT DOOR OUTSIDE, LH
BLACK M.,205
SUPER RED 2,3E5
DARK GRAY M.,23M
DARK BLUE MICA M.,8E9
GRAYISH GREEN M.,6K6
SUPER WHITE 2,040
SUPER WHITE 2,040
SUPER RED 2,3E5
69293ASNAP, FRONT DOOR OUTSIDE HANDLE
69310LOCK ASSY, FRONT DOOR, RH
69320LOCK ASSY, FRONT DOOR, LH
69410PLATE ASSY, FRONT DOOR LOCK STRIKER
69711BLINK, FRONT DOOR LOCK REMOTE CONTROL, RH
69712ALINK, FRONT DOOR LOCK REMOTE CONTROL, LH
69749ACLAMP, FRONT DOOR LOCK LINK, NO.1
69750BLINK ASSY, FRONT DOOR INSIDE LOCKING, RH
69759SNAP, DOOR LOCK CONTROL LINK, NO.1
69759SSNAP, FRONT DOOR INSIDE HANDLE
69760ALINK ASSY, FRONT DOOR INSIDE LOCKING, LH
8511DOOR MOTOR & DOOR SOLENOID
9015960081
main90159-60081
9015960399
main90159-60399
9015980029
main90159-80029
9016250008
main90162-50008
9018905053
main90189-05053
9018906043
main90189-06043
9165140610
main91651-40610
9165140612
main91651-40612
9331616012
main93316-16012
26 parts on this diagram · 1 diagram in section
FRONT DOOR LOCK & HANDLE for Toyota SPRINTER TRUENO
This section contains 26 genuine Toyota parts for the FRONT DOOR LOCK & HANDLE system of the Toyota SPRINTER TRUENO. Key components include: HANDLE SUB-ASSY, FRONT DOOR INSIDE, RH, HANDLE SUB-ASSY, FRONT DOOR INSIDE, LH, HANDLE ASSY, FRONT DOOR, OUTSIDE RH, CUSHION(FOR FRONT DOOR OUTSIDE HANDLE), HANDLE ASSY, FRONT DOOR OUTSIDE, LH.