E
EPC Data

Toyota SOLARAMIRROR

Parts diagram
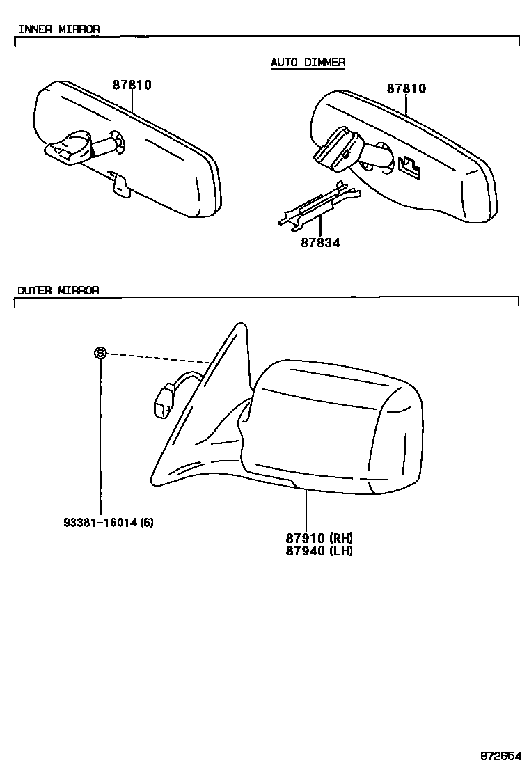
87810MIRROR ASSY, INNER REAR VIEW
main87810-06020i199806-199908
W(AUTO DIMMER)
main87810-AA010i199806-200207
main87810-AC040i199908-200212
W(AUTO DIMMER)
87834COVER, INNER REAR VIEW MIRROR STAY HOLDER
main87818-06010i199806-200003
main87818-AC010i200003-200212
87910MIRROR ASSY, OUTER REAR VIEW, RH
main87910-AA060-A0i199806-200212
ELECTRIC REMOTE CONTROL,SU.WHITE PM,051
main87910-AA060-B0i199806-200107
ELECTRIC REMOTE CONTROL,SILVER ME.OP.,1C4
main87910-AA060-B1i200107-200212
ELECTRIC REMOTE CONTROL,SILVER ME.,1C8
main87910-AA060-C0i199806-199908
ELECTRIC REMOTE CONTROL,BLACK M,204
main87910-AA060-C1i199908-200212
ELECTRIC REMOTE CONTROL,BLACK MC.,209
main87910-AA060-D0i199806-199908
ELECTRIC REMOTE CONTROL,CHAMPAGNE M.M.,3M5
main87910-AA060-D1i199806-200212
ELECTRIC REMOTE CONTROL,RED MC.,3N5
main87910-AA060-E0i199806-200002
ELECTRIC REMOTE CONTROL,COPPER M.M.,4P6
main87910-AA060-E1i199908-200212
ELECTRIC REMOTE CONTROL,BEIGE ME.,4Q5
main87910-AA060-G0i199806-200107
ELECTRIC REMOTE CONTROL,GREEN MC.,6R3
main87910-AA060-G1i200107-200212
ELECTRIC REMOTE CONTROL,DK.GREEN M.M.,6S3
main87910-AA060-J0i199806-200008
ELECTRIC REMOTE CONTROL,BLUE M.M.,8M8
main87910-AA060-J1i200009-200212
ELECTRIC REMOTE CONTROL,DK.BLUE M.M.,8P4
main87910-AA070-A0i200202-200212
ELECTRIC REMOTE CONTROL W/HEATER,SU.WHITE PM,051
main87910-AA070-B0i199806-200107
ELECTRIC REMOTE CONTROL W/HEATER,SILVER ME.OP.,1C4
main87910-AA070-B1i200112-200202
ELECTRIC REMOTE CONTROL W/HEATER,SILVER ME.,1C8
main87910-AA070-C0i199806-199908
ELECTRIC REMOTE CONTROL W/HEATER,BLACK M,204
main87910-AA070-C1i200112-200202
ELECTRIC REMOTE CONTROL W/HEATER,BLACK MC.,209
main87910-AA070-D0i199806-199908
ELECTRIC REMOTE CONTROL W/HEATER,CHAMPAGNE M.M.,3M5
main87910-AA070-D1i200202-200212
ELECTRIC REMOTE CONTROL W/HEATER,RED MC.,3N5
main87910-AA070-E0i199806-200002
ELECTRIC REMOTE CONTROL W/HEATER,COPPER M.M.,4P6
main87910-AA070-E1i200202-200212
ELECTRIC REMOTE CONTROL W/HEATER,BEIGE ME.,4Q5
main87910-AA070-G0i199806-200107
ELECTRIC REMOTE CONTROL W/HEATER,GREEN MC.,6R3
main87910-AA070-G1i200202-200212
ELECTRIC REMOTE CONTROL W/HEATER,DK.GREEN M.M.,6S3
main87910-AA070-J0i199806-200008
ELECTRIC REMOTE CONTROL W/HEATER,BLUE M.M.,8M8
main87910-AA070-J1i200112-200202
ELECTRIC REMOTE CONTROL W/HEATER,DK.BLUE M.M.,8P4
87940MIRROR ASSY, OUTER REAR VIEW, LH
main87940-AA060-A0i199806-200212
ELECTRIC REMOTE CONTROL,SU.WHITE PM,051
main87940-AA060-B0i199806-200107
ELECTRIC REMOTE CONTROL,SILVER ME.OP.,1C4
main87940-AA060-B1i200107-200212
ELECTRIC REMOTE CONTROL,SILVER ME.,1C8
main87940-AA060-C0i199806-199908
ELECTRIC REMOTE CONTROL,BLACK M,204
main87940-AA060-C1i199908-200212
ELECTRIC REMOTE CONTROL,BLACK MC.,209
main87940-AA060-D0i199806-199908
ELECTRIC REMOTE CONTROL,CHAMPAGNE M.M.,3M5
main87940-AA060-D1i199806-200212
ELECTRIC REMOTE CONTROL,RED MC.,3N5
main87940-AA060-E0i199806-200002
ELECTRIC REMOTE CONTROL,COPPER M.M.,4P6
main87940-AA060-E1i199908-200212
ELECTRIC REMOTE CONTROL,BEIGE ME.,4Q5
main87940-AA060-G0i199806-200107
ELECTRIC REMOTE CONTROL,GREEN MC.,6R3
main87940-AA060-G1i200107-200212
ELECTRIC REMOTE CONTROL,DK.GREEN M.M.,6S3
main87940-AA060-J0i199806-200008
ELECTRIC REMOTE CONTROL,BLUE M.M.,8M8
main87940-AA060-J1i200009-200212
ELECTRIC REMOTE CONTROL,DK.BLUE M.M.,8P4
main87940-AA070-A0i200202-200212
ELECTRIC REMOTE CONTROL W/HEATER,SU.WHITE PM,051
main87940-AA070-B0i199806-200107
ELECTRIC REMOTE CONTROL W/HEATER,SILVER ME.OP.,1C4
main87940-AA070-B1i200107-200112
ELECTRIC REMOTE CONTROL W/HEATER,SILVER ME.,1C8
main87940-AA070-C0i199806-199908
ELECTRIC REMOTE CONTROL W/HEATER,BLACK M,204
main87940-AA070-C1i200202-200212
ELECTRIC REMOTE CONTROL W/HEATER,BLACK MC.,209
main87940-AA070-D0i199806-199908
ELECTRIC REMOTE CONTROL W/HEATER,CHAMPAGNE M.M.,3M5
main87940-AA070-D1i200202-200212
ELECTRIC REMOTE CONTROL W/HEATER,RED MC.,3N5
main87940-AA070-E0i199806-200002
ELECTRIC REMOTE CONTROL W/HEATER,COPPER M.M.,4P6
main87940-AA070-E1i200112-200202
ELECTRIC REMOTE CONTROL W/HEATER,BEIGE ME.,4Q5
main87940-AA070-G0i199806-200107
ELECTRIC REMOTE CONTROL W/HEATER,GREEN MC.,6R3
main87940-AA070-G1i200112-200202
ELECTRIC REMOTE CONTROL W/HEATER,DK.GREEN M.M.,6S3
main87940-AA070-J0i199806-200008
ELECTRIC REMOTE CONTROL W/HEATER,BLUE M.M.,8M8
main87940-AA070-J1i200202-200212
ELECTRIC REMOTE CONTROL W/HEATER,DK.BLUE M.M.,8P4
9338116014

5 parts on this diagram · 1 diagram in section

Toyota SOLARA MIRROR — Parts Diagram | EPC Data