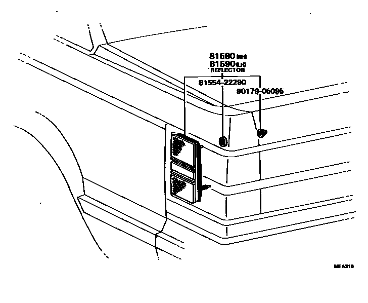
Toyota SOARER — REFLEX REFLECTOR

81580REFLECTOR ASSY, REFLEX SIDE, RH
81590REFLECTOR ASSY, REFLEX SIDE, LH
8155422290GASKET, REAR COMBINATION LAMP BODY, RH
main81554-22290
9017905095
main90179-05095
4 parts on this diagram · 1 diagram in section
REFLEX REFLECTOR for Toyota SOARER
This section contains 4 genuine Toyota parts for the REFLEX REFLECTOR system of the Toyota SOARER. Key components include: REFLECTOR ASSY, REFLEX SIDE, RH, REFLECTOR ASSY, REFLEX SIDE, LH, GASKET, REAR COMBINATION LAMP BODY, RH.