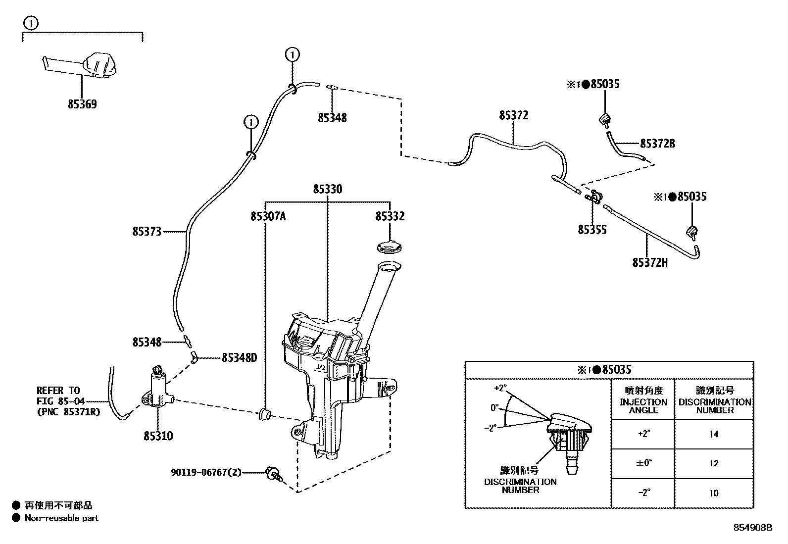
Toyota SIENTA — WINDSHIELD WASHER

85035NOZZLE SUB-ASSY, WASHER
8504
85307AGROMMET SUB-ASSY, WASHER, NO.1
85310MOTOR AND PUMP ASSY, WINDSHIELD WASHER
85330JAR ASSY, WINDSHIELD WASHER
85332CAP, WINDSHIELD WASHER JAR
85348JOINT, WINDSHIELD WASHER HOSE, NO.1
85348DJOINT, WINDSHIELD WASHER ELBOW, NO.1
85355VALVE, WINDSHIELD WASHER HOSE
85369CLAMP
85372HOSE, WINDSHIELD WASHER (FROM JOINT TO JOINT), NO.1
85372BHOSE, WINDSHIELD WASHER (FROM JOINT TO JOINT), NO.2
85372HHOSE, WINDSHIELD WASHER (FROM JOINT TO JOINT), NO.3
85373HOSE, WINDSHIELD WASHER (FROM JOINT TO NOZZLE)
9011906767
main90119-06767
15 parts on this diagram · 1 diagram in section