Toyota SCION IA/YARIS R/IA — ROOF HEADLINING & SILENCER PAD

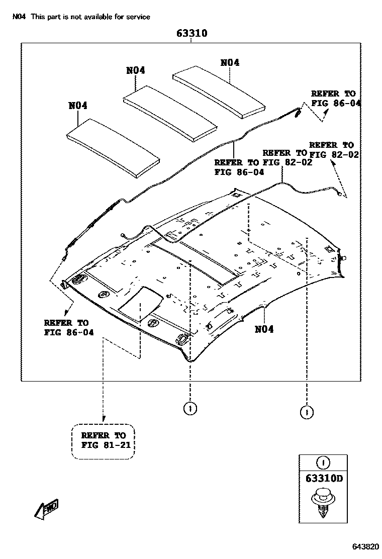
63310HEADLINING ASSY, ROOF
TINTED TOP,TRIM70,80
TINTED TOP,TRIM10,20,30,40,70,80
TINTED TOP,TRIM10,20,30,40
63310DCLIP, ROOF HEADLINING
TINTED TOP,TRIM10,20,30,40,70,80
8121INTERIOR LAMP
8202WIRING & CLAMP
8604ANTENNA
5 parts on this diagram · 8 diagrams in section
ROOF HEADLINING & SILENCER PAD for Toyota SCION IA/YARIS R/IA
This section contains 18 genuine Toyota parts for the ROOF HEADLINING & SILENCER PAD system of the Toyota SCION IA/YARIS R/IA. Key components include: HEADLINING ASSY, ROOF, CLIP, ROOF HEADLINING, BRACKET, ROOF HEADLINING RETAINER, NO.2, SPACER, SIDE RAIL, FRONT RH, SPACER, SIDE RAIL, REAR RH.