E
ToyotaEPC

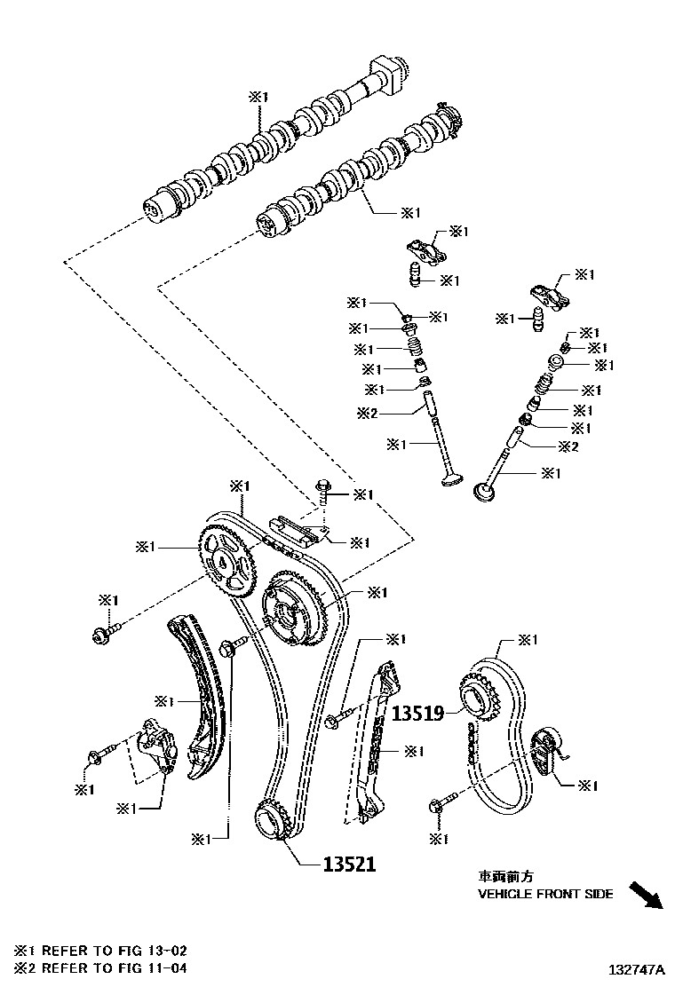
Toyota SCION IA/YARIS R/IACRANKSHAFT & PISTON

Parts diagram
13519GEAR, OIL PUMP DRIVE
main17662-WB001i201506-201707
main17662-WB003i201707
13521GEAR OR SPROCKET, CRANKSHAFT TIMING
main13521-WB001i201506-201707
main13521-WB002i201707

2 parts on this diagram · 2 diagrams in section

CRANKSHAFT & PISTON for Toyota SCION IA/YARIS R/IA

This section contains 20 genuine Toyota parts for the CRANKSHAFT & PISTON system of the Toyota SCION IA/YARIS R/IA. Key components include: CYLINDER BLOCK, BEARING, CRANKSHAFT, WASHER, CRANKSHAFT THRUST, UPPER, RING SET, PISTON, BEARING, CONNECTING ROD.

Toyota SCION IA/YARIS R/IA CRANKSHAFT & PISTON — Parts Diagram | ToyotaEPC