Toyota SCION IA/YARIS R/IA — CAMSHAFT & VALVE

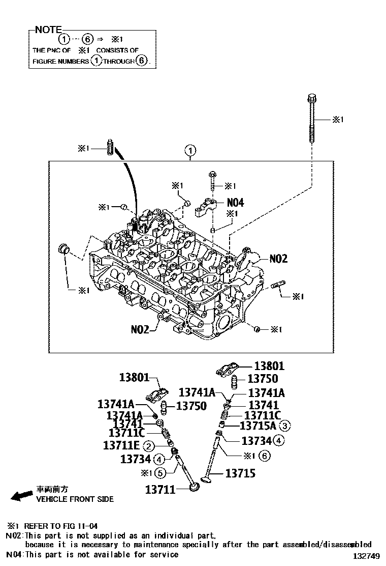
13711VALVE, INTAKE
13711CSPRING, COMPRESSION(FOR OUTER)
FOR INTAKE VALVE
FOR EXHAUST VALVE
13711ESEAL, INTAKE VALVE STEM OIL
13715VALVE, EXHAUST
13715ASEAL, EXHAUST VALVE STEM OIL
13734SEAT, VALVE SPRING
13741RETAINER, VALVE SPRING
13741ALOCK, VALVE SPRING RETAINER
13750ADJUSTER ASSY, VALVE LASH
13801ARM SUB-ASSY, VALVE ROCKER, NO.1
10 parts on this diagram · 2 diagrams in section
CAMSHAFT & VALVE for Toyota SCION IA/YARIS R/IA
This section contains 30 genuine Toyota parts for the CAMSHAFT & VALVE system of the Toyota SCION IA/YARIS R/IA. Key components include: CRANKSHAFT & PISTON, GEAR ASSY, CAMSHAFT TIMING, CHAIN SUB-ASSY, CHAIN SUB-ASSY, NO.2, CAMSHAFT.