E
EPC Data

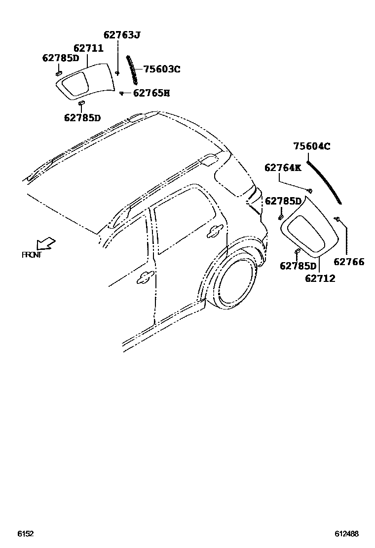
Toyota RUSHSIDE WINDOW

Parts diagram
62711GLASS, QUARTER WINDOW, RH
main62711-B4010i200811
main62711-B4021i201605
REAR SIDE GLASS-PRIVATE
62712GLASS, QUARTER WINDOW, LH
main62712-B4010i200811
main62712-B4021i201605
REAR SIDE GLASS-PRIVATE
62763JRETAINER, QUARTER WINDOW GLASS, UPPER
main62763-B4010i200811-200911
main62763-B4020i201605
62764KRETAINER, QUARTER WINDOW GLASS, UPPER
main62764-B4010i200811-200911
main62764-B4020i201605
62765HRETAINER, QUARTER WINDOW GLASS, LOWER
main62765-B4010i200811-200911
main62765-B4020i201605
62766RETAINER, QUARTER WINDOW GLASS, LOWER LH
main62766-B4010i200811-200911
main62766-B4020i201605
62785DSPACER, QUARTER WINDOW GLASS
main62785-B2030×4i200811
75603CMOULDING,QUARTER WINDOW,OUTSIDE FRONT RH
main75641-B4010i200811
75604CMOULDING,QUARTER WINDOW,OUTSIDE FRONT LH
main75642-B4010i200811

9 parts on this diagram · 1 diagram in section

SIDE WINDOW for Toyota RUSH

This section contains 9 genuine Toyota parts for the SIDE WINDOW system of the Toyota RUSH. Key components include: GLASS, QUARTER WINDOW, RH, GLASS, QUARTER WINDOW, LH, RETAINER, QUARTER WINDOW GLASS, UPPER, RETAINER, QUARTER WINDOW GLASS, LOWER.

Toyota RUSH SIDE WINDOW — Parts Diagram | EPC Data