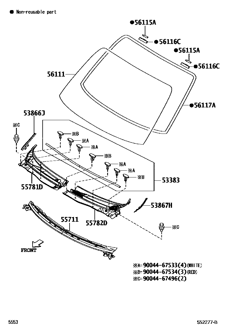
Toyota RUSH — COWL PANEL & WINDSHIELD GLASS

53383SEAL, HOOD TO COWL TOP
53866JSEAL, FRONT FENDER TO COWL SIDE, RH
53867HSEAL, FRONT FENDER TO COWL SIDE, LH
55711PANEL, COWL TOP, OUTER
55781DLOUVER, COWL TOP VENTILATOR, RH
55782DLOUVER, COWL TOP VENTILATOR, LH
56111GLASS, WINDSHIELD
W/INNER MIRROR BASE
56115ASTOPPER, WINDSHIELD GLASS, NO.1
56116CSTOPPER, WINDSHIELD GLASS, NO.2
56117ADAM, WINDOW GLASS ADHESIVE
L=3795
9004467496
main90044-67496
9004467533
main90044-67533
9004467534
main90044-67534
13 parts on this diagram · 2 diagrams in section
COWL PANEL & WINDSHIELD GLASS for Toyota RUSH
This section contains 15 genuine Toyota parts for the COWL PANEL & WINDSHIELD GLASS system of the Toyota RUSH. Key components include: SEAL, HOOD TO COWL TOP, FRONT FENDER APRON & DASH PANEL, SEAL, FRONT FENDER TO COWL SIDE, RH, SEAL, FRONT FENDER TO COWL SIDE, LH, PANEL SUB-ASSY, COWL TOP, INNER.