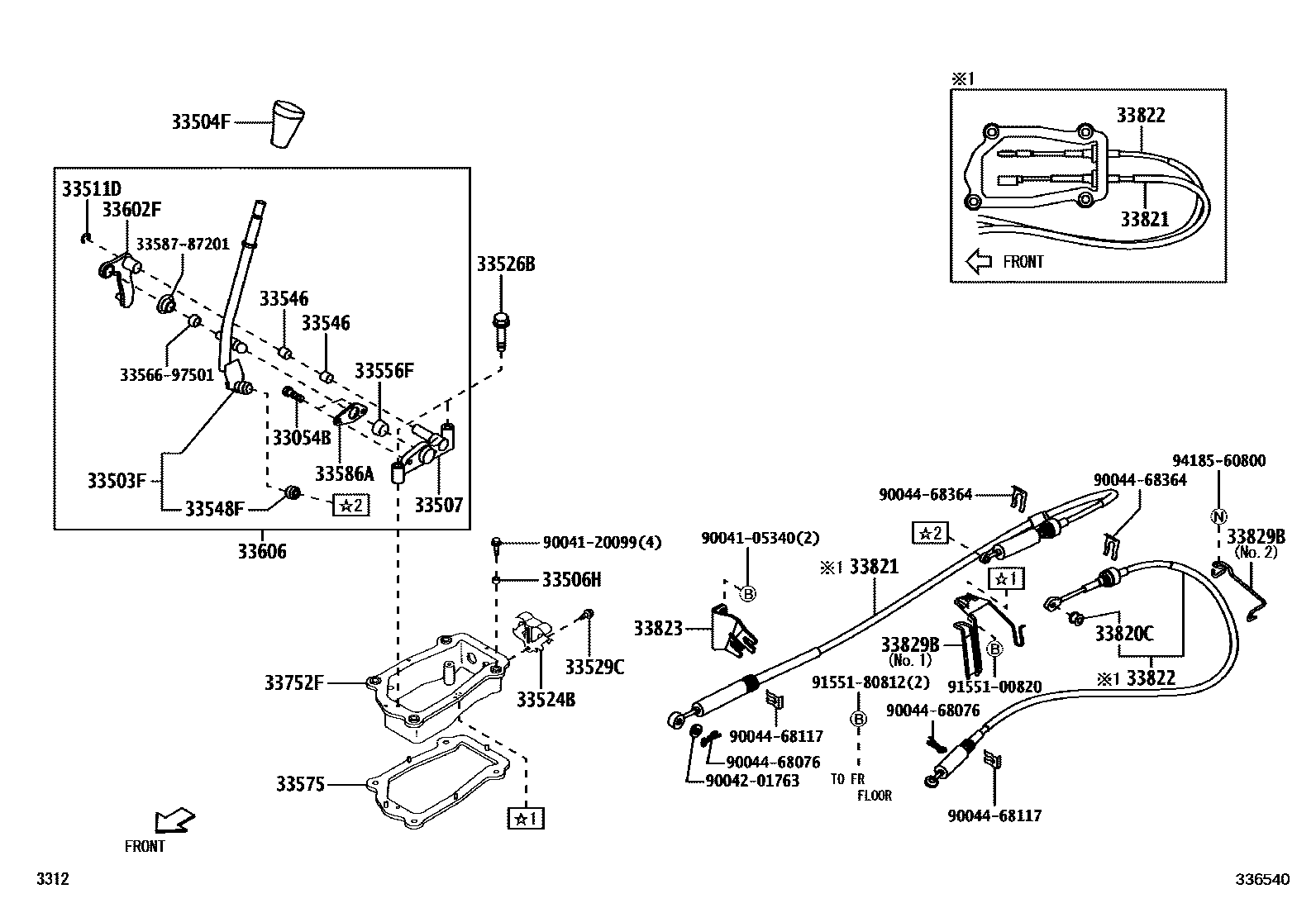
Toyota RUSH — SHIFT LEVER & RETAINER

33054BBOLT(FOR SHIFT LEVER NO.2)
33503FLEVER SUB-ASSY, SHIFT(FOR FLOOR SHIFT)
33504FKNOB SUB-ASSY, SHIFT LEVER
DK.GRAY,TRIM1#
DK.GRAY,TRIM1#
33506HBUSH (FOR SHIFT LEVER RETAINER)
33507BRACKET SUB-ASSY, SHIFT LEVER HOUSING
33511DRING, E (FOR FLOOR SHIFT CONTROL SHAFT)
33524BBRACKET, CONTROL CABLE
33526BBOLT, SHIFT LEVER HOUSING SET
33529CBOLT, SHIFT LEVER
33546BUSH(FOR CONTROL SHIFT LEVER RETAINER)
33548FBUSH, NO.1, SHIFT LEVER (FOR FLOOR SHIFT)
33556FSEAT, TRANSMISSION SHIFT LEVER BALL
33575RETAINER, CONTROL SHIFT LEVER (FOR FLOOR SHIFT)
33586ASTOPPER, CONTROL LEVER (FOR FLOOR SHIFT)
33602FLEVER SUB-ASSY, SELECT (FOR FLOOR SHIFT)
33606LEVER SUB-ASSY, WIRE PULL
33752FSUPPORT, CONTROL LINK (FOR FLOOR SHIFT)
33820CBUSH (FOR TRANSMISSION CONTROL CABLE)
33821CABLE TRANSMISSION CONTROL SHIFT (FOR FLOOR SHIFT)
33822CABLE TRANSMISSION CONTROL SELECT (FOR FLOOR SHIFT)
33823BRACKET, TRANSMISSION CONTROL CABLE, NO.1
33829BCLAMP, TRANSMISSION CONTROL CABLE
3356697501PIN, SHIFT LEVER STOP
main33566-97501
3358787201GUIDE, CONTROL SELECT LEVER
main33587-87201
9004105340
main90041-05340
9004120099
main90041-20099
9004201763
main90042-01763
9004468076
main90044-68076
9004468117
main90044-68117
9004468364
main90044-68364
9155100820
main91551-00820
9155180812
main91551-80812
9418560800
main94185-60800
33 parts on this diagram · 2 diagrams in section
SHIFT LEVER & RETAINER for Toyota RUSH
This section contains 43 genuine Toyota parts for the SHIFT LEVER & RETAINER system of the Toyota RUSH. Key components include: BOLT(FOR SHIFT LEVER NO.2), LEVER SUB-ASSY, SHIFT(FOR FLOOR SHIFT), KNOB SUB-ASSY, SHIFT LEVER, BUSH (FOR SHIFT LEVER RETAINER), BRACKET SUB-ASSY, SHIFT LEVER HOUSING.