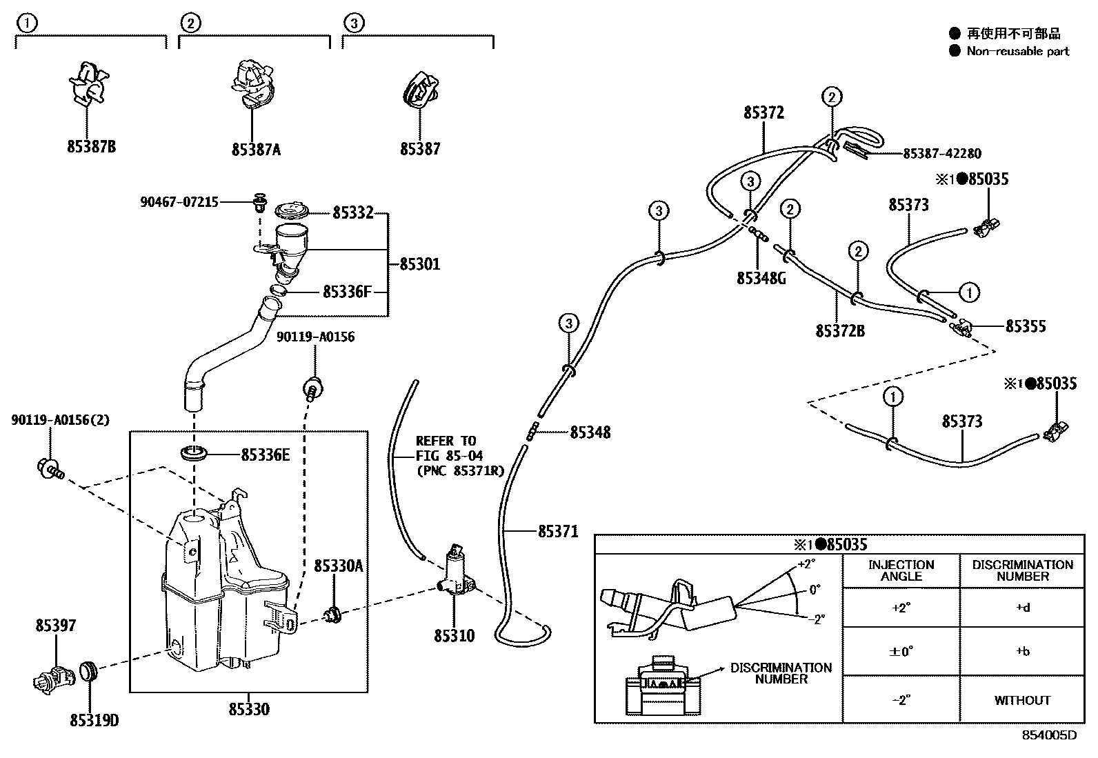
Toyota RAV4 (NAP) — WINDSHIELD WASHER

85035NOZZLE SUB-ASSY, WASHER
ANGLE 0
ANGLE -2
ANGLE +2
8504REAR WASHER
85301INLET SUB-ASSY, WASHER
85310MOTOR AND PUMP ASSY, WINDSHIELD WASHER
85319DPACKING, FRONT WASHER
85330JAR ASSY, WINDSHIELD WASHER
85330ABUSH, WINDSHIELD WASHER JAR
85332CAP, WINDSHIELD WASHER JAR
85336EPACKING, WINDSHIELD WASHER INLET HOSE
85336FPACKING, WINDSHIELD WASHER JAR
85348JOINT, WINDSHIELD WASHER HOSE, NO.1
85348GJOINT, WINDSHIELD WASHER HOSE, NO.2
85355VALVE, WINDSHIELD WASHER HOSE
85371HOSE, WINDSHIELD WASHER (FROM MOTOR TO JOINT)
L=590
85372HOSE, WINDSHIELD WASHER (FROM JOINT TO JOINT), NO.1
L=1690
85372BHOSE, WINDSHIELD WASHER (FROM JOINT TO JOINT), NO.2
L=500
85373HOSE, WINDSHIELD WASHER (FROM JOINT TO NOZZLE)
L=470
85387CLAMP NO.1 (FOR WINDSEIELD WASHER)
85387ACLAMP, WASHER, NO.2
85387BCLAMP, WASHER, NO.3
85397SWITCH ASSY,LEVEL WARNING
8538742280CLAMP NO.1 (FOR WINDSEIELD WASHER)
main85387-42280
90119A0156
main90119-A0156
9046707215
main90467-07215
24 parts on this diagram · 1 diagram in section
WINDSHIELD WASHER for Toyota RAV4 (NAP)
This section contains 24 genuine Toyota parts for the WINDSHIELD WASHER system of the Toyota RAV4 (NAP). Key components include: NOZZLE SUB-ASSY, WASHER, REAR WASHER, INLET SUB-ASSY, WASHER, MOTOR AND PUMP ASSY, WINDSHIELD WASHER, PACKING, FRONT WASHER.