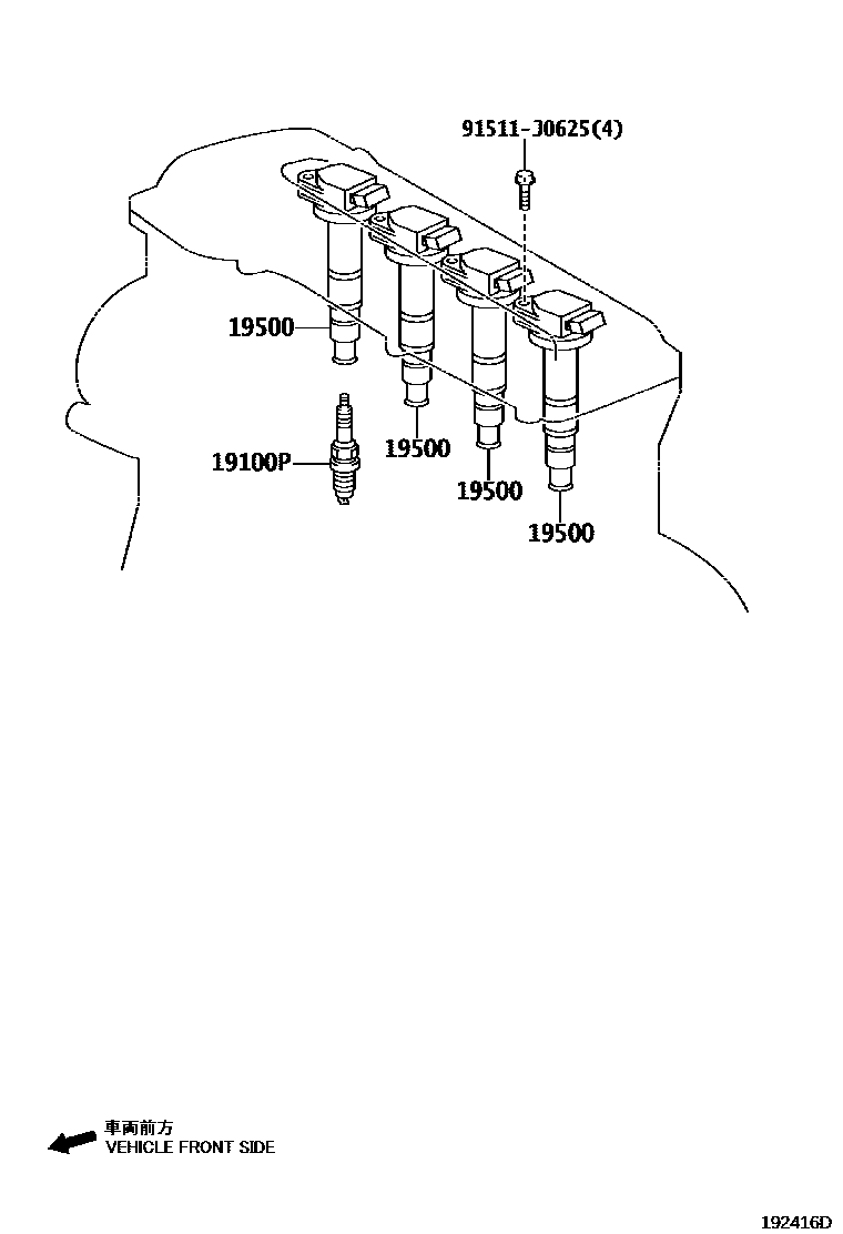
Toyota RAV4 (JPP) — IGNITION COIL & SPARK PLUG / GLOW PLUG

3 parts on this diagram · 3 diagrams in section
IGNITION COIL & SPARK PLUG / GLOW PLUG for Toyota RAV4 (JPP)
This section contains 5 genuine Toyota parts for the IGNITION COIL & SPARK PLUG / GLOW PLUG system of the Toyota RAV4 (JPP). Key components include: PLUG, SPARK, COIL ASSY, IGNITION.