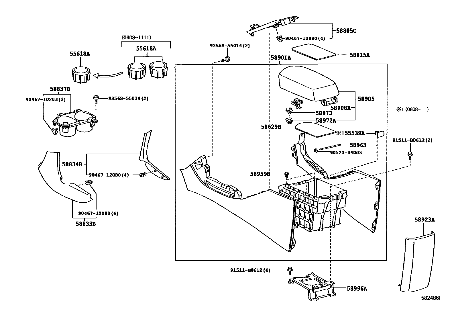
Toyota RAV4 (JPP) — CONSOLE BOX & BRACKET

55539ACOVER, SPARE SWITCH HOLE
DK.GRAY
55618AHOLDER, CONSOLE BOX CUP
58629BMAT, CENTER CONSOLE
58805CPANEL SUB-ASSY, CONSOLE, UPPER REAR
DK.GRAY,TRIM1#
GRAY,TRIM1#
FAWN,TRIM4#
DK.GRAY,TRIM13
GRAY,TRIM10
SAND BEIGE,TRIM4#
DK.GRAY,TRIM1#
GRAY,TRIM1#
SAND BEIGE,TRIM4#
58815ACARPET, CONSOLE BOX
58833BGARNISH, CONSOLE UPPER PANEL, NO.1
GRAY,TRIM1#,4#
GRAY,TRIM1#,4#
58834BGARNISH, CONSOLE UPPER PANEL, NO.2
GRAY,TRIM1#,4#
GRAY,TRIM1#,4#
58837BBOX, CONSOLE CUP HOLDER
DK.GRAY,TRIM1#
58901ABOX SUB-ASSY, CONSOLE, REAR
DK.GRAY,TRIM1#
GRAY,TRIM1#
FAWN,TRIM4#
DK.GRAY,TRIM1#
GRAY,TRIM1#
FAWN,TRIM4#
DK.GRAY,TRIM13
GRAY,TRIM10
SAND BEIGE,TRIM4#
58905DOOR SUB-ASSY, CONSOLE COMPARTMENT
DK.GRAY,TRIM13
GRAY,TRIM10
DK.GRAY,TRIM1#
GRAY,TRIM1#
FAWN,TRIM4#
SAND BEIGE,TRIM4#
58908ALOCK SUB-ASSY, CONSOLE COMPARTMENT DOOR
58923APANEL, CONSOLE REAR END
DK.GRAY,TRIM13
GRAY,TRIM10
FAWN,TRIM4#
SAND BEIGE,TRIM4#
TELEVISION & VTR-REAR MONITOR(RSE),GRAY,TRIM1#
TELEVISION & VTR-REAR MONITOR(RSE),FAWN,TRIM4#
FRONT SEAT SLIDE-240MM & WITH(POWER SLIDE:DRIVER ONLY),GRAY,TRIM1#
FRONT SEAT SLIDE-240MM & WITH(POWER SLIDE:DRIVER ONLY),SAND BEIGE,TRIM4#
58959BCUSHION, CONSOLE COMPARTMENT DOOR
58963SHAFT, CONSOLE COMPARTMENT DOOR HINGE
58972ABASE, CONSOLE COMPARTMENT DOOR LOCK
58973PIN, CONSOLE COMPARTMENT DOOR LOCK
58996ABRACKET, CONSOLE BOX MOUNTING, NO.2
9046710203
main90467-10203
9046712080
main90467-12080
9052304003
main90523-04003
91511B0612
main91511-B0612
9356855014
main93568-55014
22 parts on this diagram · 1 diagram in section