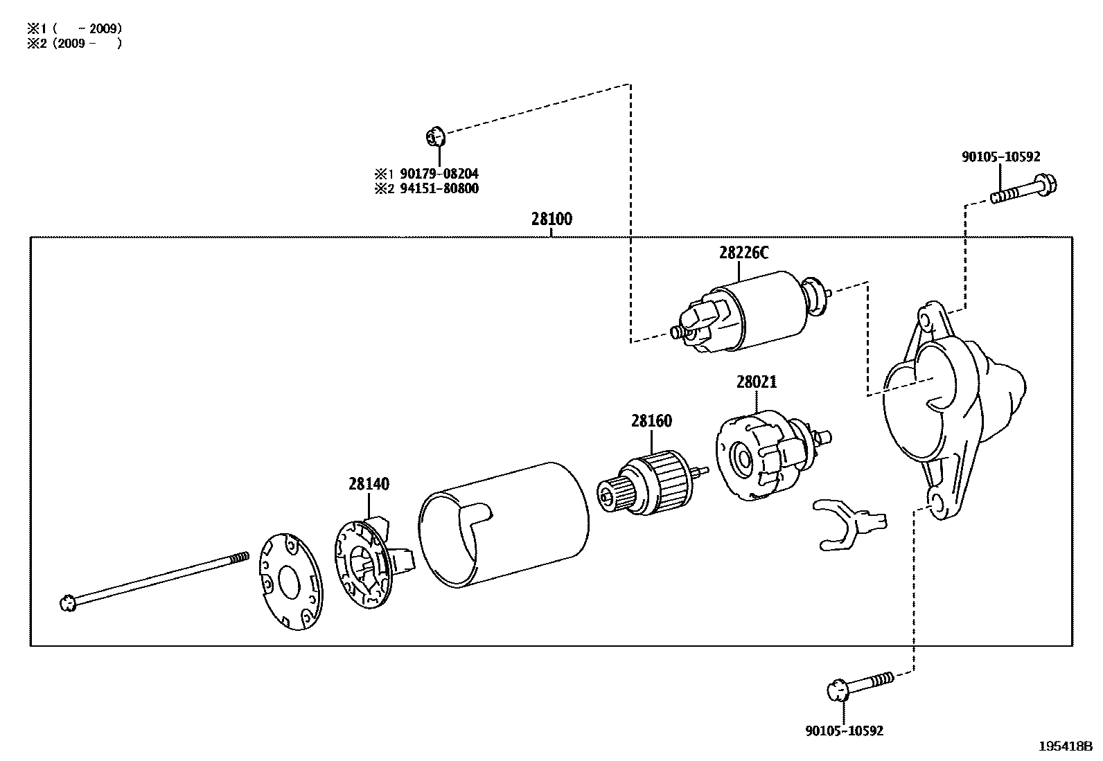
Toyota RAV4 (JPP) — STARTER

28021CLUTCH SUB-ASSY, STARTER CENTER BEARING
main28021-24120iM20AFKS..MXAA52..X..(ARL,GCC,GEN);M20AFKS..MXAA52..(G,M)..(ARL,GEN,SA);M20AFKS..MXAA54..JPP..(GCC,GEN,RUS,SA)202310
LOW FUEL CONSUMPTION PACKAGE-WITHOUT
main28021-25070iM20AFKS..MXAA52..CVT..ARL;A25AFKS..AXAA54..(M,V)..ARL; M20AFKS..MXAA52..RHD..EUR202008-202210
LOW FUEL CONSUMPTION PACKAGE-IDLE STOP & ECO-RUN
28100STARTER ASSY
12V 1.2KW; 12V 1.2KW,LOW FUEL CONSUMPTION PACKAGE-WITHOUT
main28100-24140iM20AFKS..MXAA52..RHD..6F..EUR; M20AFKS..MXAA54..6F..EUR;M20AFKS..MXAA52..LHD..6F..M..EUR;M20AFKS..MXAA52..6F..(G,X)..(ARL,EUR)201811-202007
12V 1.7KW; 12V 1.7KW,LOW FUEL CONSUMPTION PACKAGE-IDLE STOP & ECO-RUN
main28100-25050supersedes 28100-25070iA25AFKS..AXAA5#..ARL,GCC,GEN,SA; A25AFKS..AXAA54..EUR201811-201909
12V 1.3KW; 12V 1.3KW,LOW FUEL CONSUMPTION PACKAGE-WITHOUT
main28100-25070iM20AFKS..MXAA5#..LHD..CVT..EUR;A25AFKS,M20AFKS..AXAA54,MXAA52..(ATM,CVT)..ARL; M20AFKS..MXAA52..RHD..CVT..EUR201811-202007
12V 1.7KW; 12V 1.7KW,LOW FUEL CONSUMPTION PACKAGE-IDLE STOP & ECO-RUN
main28100-25080iM20AFKS..MXAA52..CVT..ARL;M20AFKS..MXAA5#..LHD..CVT..EUR; M20AFKS..MXAA52..RHD..EUR202008-202112
12V 1.7KW; 12V 1.7KW,LOW FUEL CONSUMPTION PACKAGE-IDLE STOP & ECO-RUN
12V 1.4KW
12V 1.2KW
12V 1.7KW,LOW FUEL CONSUMPTION PACKAGE-IDLE STOP & ECO-RUN
28140HOLDER ASSY, STARTER BRUSH
main28140-21070iA25AFKS..AXAA54..LHD..V;A25AFKS..AXAA54..(M,V,X)..ARL;M20AFKS..MXAA5#..LHD..6F..GEN;A25AFKS..AXAA52..LHD..(G,M)..GEN;M20AFKS..MXAA54..(G,V)..(GEN,SA);A25AFKS..AXAA54..(G,M,X)..(GCC,GEN,SA);M20AFKS..MXAA54..CVT..(M,X)..(GCC,GEN);M20AFKS..MXAA52..CVT..(ARL,GCC,GEN,SA);A25AFKS,M20AFKS..AXAA52,MXAA52..(6F,8FC)..(GCC,SA)202008-202210
LOW FUEL CONSUMPTION PACKAGE-WITHOUT
28160ARMATURE ASSY, STARTER
main28160-36110iM20AFKS..MXAA5#..LHD..EUR;A25AFKS,M20AFKS..AXAA54,MXAA52..ARL; M20AFKS..MXAA52..RHD..EUR201811-202007
LOW FUEL CONSUMPTION PACKAGE-IDLE STOP & ECO-RUN
28226CSTARTER KIT, REPAIR SERVICE, NO.2
LOW FUEL CONSUMPTION PACKAGE-WITHOUT
LOW FUEL CONSUMPTION PACKAGE-WITHOUT
main28226-K0040iA25AFKS..AXAA52..RHD;A25AFKS..AXAA52..X..GEN;A25AFKS..AXAA54..G..ARL;A25AFKS..AXAA54..RHD..V..GEN202008-202111
9010510592
main90105-10592
9017908204
main90179-08204
9415180800
main94151-80800
8 parts on this diagram · 5 diagrams in section
STARTER for Toyota RAV4 (JPP)
This section contains 15 genuine Toyota parts for the STARTER system of the Toyota RAV4 (JPP). Key components include: CLUTCH SUB-ASSY, STARTER, CLUTCH SUB-ASSY, STARTER CENTER BEARING, STARTER ASSY, HOUSING ASSY, STARTER DRIVE, BOLT, HOUSING SET.