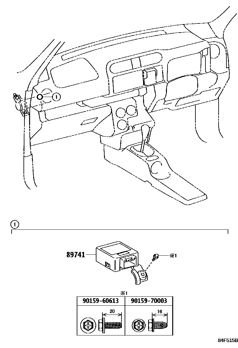
Toyota PROBOX/SUCCEED — WIRELESS DOOR LOCK

3 parts on this diagram · 1 diagram in section
WIRELESS DOOR LOCK for Toyota PROBOX/SUCCEED
This section contains 3 genuine Toyota parts for the WIRELESS DOOR LOCK system of the Toyota PROBOX/SUCCEED. Key components include: RECEIVER, DOOR CONTROL.