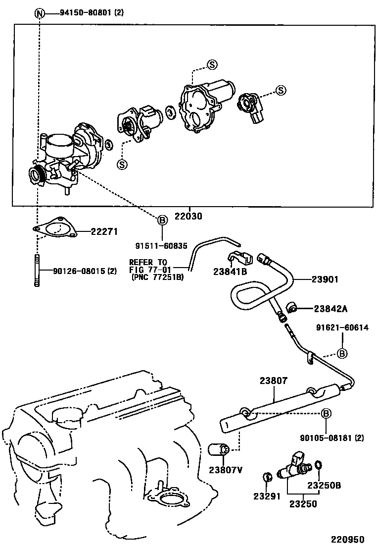
Toyota PRIUS — FUEL INJECTION SYSTEM

22030BODY ASSY, THROTTLE W/THROTTLE POSITION SENSOR
22271GASKET, THROTTLE BODY
23250INJECTOR ASSY, FUEL
23250BRING, O(FOR FUEL INJECTOR)
23291INSULATOR, INJECTOR VIBRATION
23807PIPE SUB-ASSY, FUEL DELIVERY
23807VSPACER, NO.1(FOR DELIVERY PIPE)
23841BCLAMP, FUEL PIPE, NO.1(FOR EFI)
23842ACLAMP, FUEL PIPE, NO.2(FOR EFI)
23901TUBE SUB-ASSY, FUEL
7701FUEL TANK & TUBE
9010508181
main90105-08181
9012608015
main90126-08015
9151160835
main91511-60835
9162160614
main91621-60614
9415080801
main94150-80801
16 parts on this diagram · 1 diagram in section
FUEL INJECTION SYSTEM for Toyota PRIUS
This section contains 16 genuine Toyota parts for the FUEL INJECTION SYSTEM system of the Toyota PRIUS. Key components include: BODY ASSY, THROTTLE W/THROTTLE POSITION SENSOR, GASKET, THROTTLE BODY, INJECTOR ASSY, FUEL, RING, O(FOR FUEL INJECTOR), INSULATOR, INJECTOR VIBRATION.