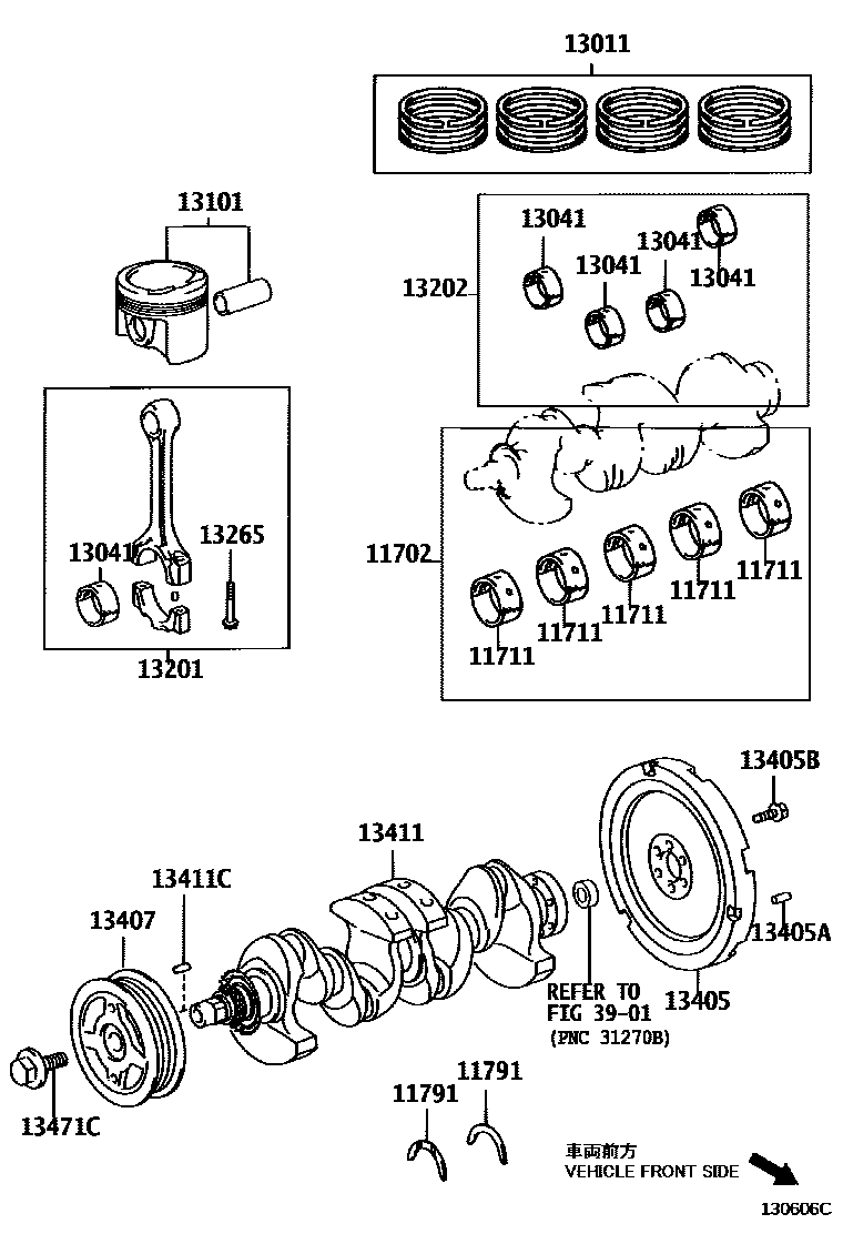
Toyota PRIUS — CRANKSHAFT & PISTON

11702BEARING SET, CRANKSHAFT
U/S 0.25
U/S 0.25
11711BEARING, CRANKSHAFT
MARK1,REFER REPAIR MANUAL
MARK2,REFER REPAIR MANUAL
MARK3,REFER REPAIR MANUAL
MARK4,REFER REPAIR MANUAL
MARK1,REFER REPAIR MANUAL
MARK2,REFER REPAIR MANUAL
MARK3,REFER REPAIR MANUAL
MARK4,REFER REPAIR MANUAL
11791WASHER, CRANKSHAFT THRUST, UPPER
STD
STD
O/S 0.125
O/S 0.125
O/S 0.25
O/S 0.25
13011RING SET, PISTON
STD
13041BEARING, CONNECTING ROD
MARK1,REFER REPAIR MANUAL
MARK2,REFER REPAIR MANUAL
MARK3,REFER REPAIR MANUAL
MARK 1,REFER REPAIR MANUAL
MARK 2,REFER REPAIR MANUAL
MARK 3,REFER REPAIR MANUAL
MARK 1,REFER REPAIR MANUAL
MARK2,REFER REPAIR MANUAL
MARK 3,REFER REPAIR MANUAL
13101PISTON SUB-ASSY, W/PIN
STD
13201ROD SUB-ASSY, CONNECTING
13202BEARING SET, CONNECTING ROD
U/S 0.25
U/S 0.25
U/S 0.25
13265BOLT, CONNECTING ROD
13405FLYWHEEL SUB-ASSY
13405APIN, STRAIGHT(FOR FLYWHEEL)
L=18,OD=8
13405BBOLT, FLYWHEEL SETTING
13407DAMPER SUB-ASSY, CRANKSHAFT
13411CRANKSHAFT
13411CPIN, STRAIGHT(FOR CRANKSHAFT)
13471CBOLT(FOR CRANKSHAFT PULLEY SET)
3901TRANSAXLE ASSY(HEV OR BEV OR FCEV)
17 parts on this diagram · 1 diagram in section
CRANKSHAFT & PISTON for Toyota PRIUS
This section contains 17 genuine Toyota parts for the CRANKSHAFT & PISTON system of the Toyota PRIUS. Key components include: BEARING SET, CRANKSHAFT, BEARING, CRANKSHAFT, WASHER, CRANKSHAFT THRUST, UPPER, RING SET, PISTON, BEARING, CONNECTING ROD.