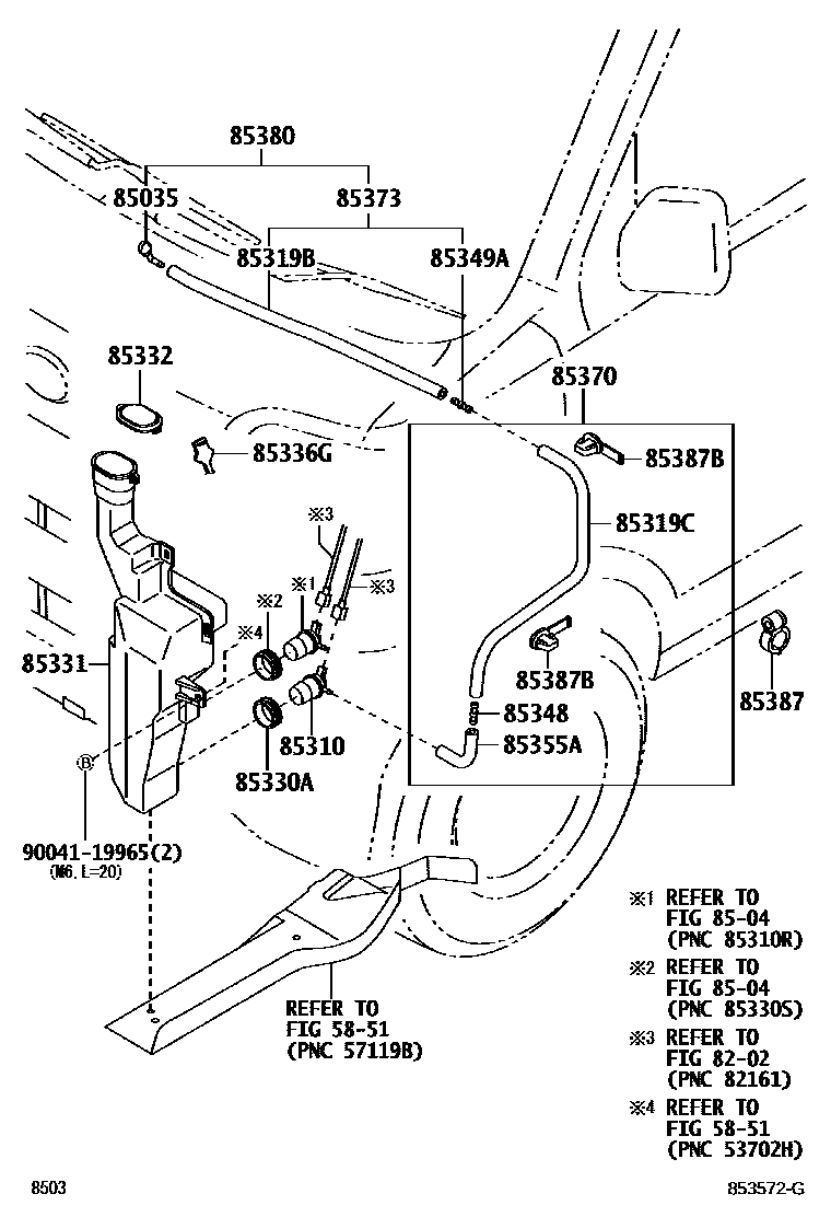
Toyota PIXIS VAN — WINDSHIELD WASHER

5851FRONT FLOOR PANEL & FRONT FLOOR MEMBER
8202WIRING & CLAMP
85035NOZZLE SUB-ASSY, WASHER
8504REAR WASHER
85310MOTOR AND PUMP ASSY, WINDSHIELD WASHER
85319BHOSE, WINDOW WASHER
85330ABUSH, WINDSHIELD WASHER JAR
85331JAR SUB-ASSY, WINDSHIELD WASHER
85332CAP, WINDSHIELD WASHER JAR
85336GGAGE, WATER LEVEL
85348JOINT, WINDSHIELD WASHER HOSE, NO.1
85349AJOINT, WINDSHIELD WASHER HOSE, NO.2
85355VALVE, WINDSHIELD WASHER HOSE
85355AJOINT, WINDSHIELD WASHER ELBOW
85370HOSE ASSY, WINDSHIELD WASHER
85373HOSE, WINDSHIELD WASHER (FROM JOINT TO NOZZLE)
85380NOZZLE & HOSE ASSY, FR WASHER
85387CLAMP NO.1 (FOR WINDSEIELD WASHER)
85387BCLAMP, WASHER, NO.3
9004119965
main90041-19965
21 parts on this diagram · 2 diagrams in section
WINDSHIELD WASHER for Toyota PIXIS VAN
This section contains 21 genuine Toyota parts for the WINDSHIELD WASHER system of the Toyota PIXIS VAN. Key components include: FRONT FLOOR PANEL & FRONT FLOOR MEMBER, WIRING & CLAMP, NOZZLE SUB-ASSY, WASHER, REAR WASHER, MOTOR AND PUMP ASSY, WINDSHIELD WASHER.