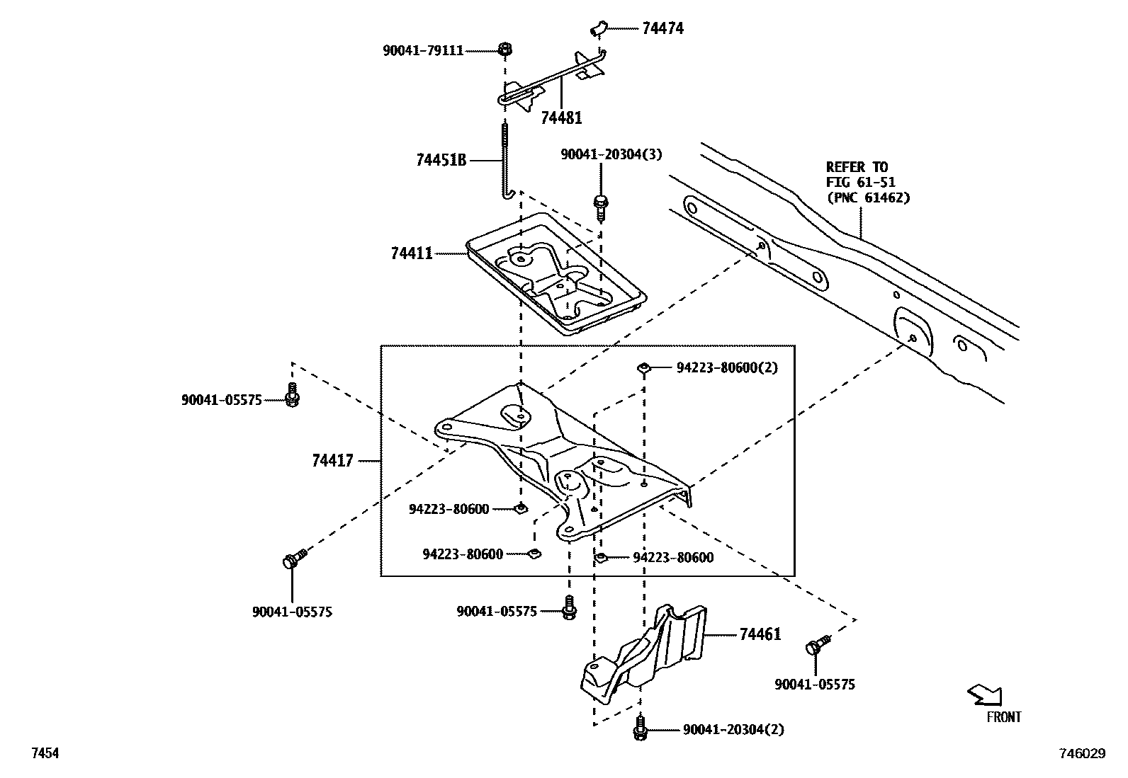
Toyota PIXIS VAN — BATTERY CARRIER

6151SIDE MEMBER
74411CARRIER, BATTERY
74417BRACKET, BATTERY CARRIER
74451BBOLT, BATTERY CLAMP
74461COVER, BATTERY
74474PAD, BATTERY
74481CLAMP, BATTERY HOLD DOWN
9004105575
main90041-05575
9004120304
main90041-20304
9004179111
main90041-79111
9422380600
main94223-80600
11 parts on this diagram · 1 diagram in section
BATTERY CARRIER for Toyota PIXIS VAN
This section contains 11 genuine Toyota parts for the BATTERY CARRIER system of the Toyota PIXIS VAN. Key components include: SIDE MEMBER, CARRIER, BATTERY, BRACKET, BATTERY CARRIER, BOLT, BATTERY CLAMP, COVER, BATTERY.