E
ToyotaEPC

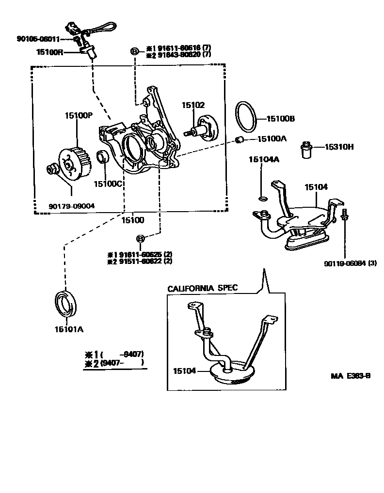
Toyota PASEOENGINE OIL PUMP

Parts diagram
15100PUMP ASSY, OIL
main15100-11070i199104-199407
main15100-11071i199407-199508
main15100-11110i199409-199508
CALIFORNIA SPEC
15100APIN, RING(FOR OIL PUMP SET)
main90253-09001×2i199104-199508
15100BRING, O(FOR OIL PUMP)
main90301-62006i199104-199508
15100CSEAL(FOR OIL PUMP)
main90029-21007i199104-199305
main90029-21020i199305-199508
15100PPULLEY, OIL PUMP DRIVE SHAFT
main13524-11020i199104-199508
15100RSENSOR, CRANK POSITION
main90919-05018i199409-199508
CALIFORNIA SPEC,OIL PUMP
15101ASEAL(FOR CRANKSHAFT)
main90311-35013i199104-199505
main90311-35035i199505-199508
15102ROTOR SET, OIL PUMP
main15102-11080i199104-199508
15104STRAINER SUB-ASSY, OIL
main15104-11080i199409-199508
CALIFORNIA SPEC
main15104-11090i199104-199409
main15104-11190i199409-199508
15104ARING, O(FOR OIL STRAINER)
main96721-24015i199104-199508
15310HREGULATOR ASSY, OIL
main15310-10010i199104-199508
9010506011
9011906084
9017909004
9151160622
9161160616
9161160625
9164380620

18 parts on this diagram · 1 diagram in section

ENGINE OIL PUMP for Toyota PASEO

This section contains 18 genuine Toyota parts for the ENGINE OIL PUMP system of the Toyota PASEO. Key components include: PUMP ASSY, OIL, PIN, RING(FOR OIL PUMP SET), RING, O(FOR OIL PUMP), SEAL(FOR OIL PUMP), PULLEY, OIL PUMP DRIVE SHAFT.