Toyota ORIGIN — COWL PANEL & WINDSHIELD GLASS

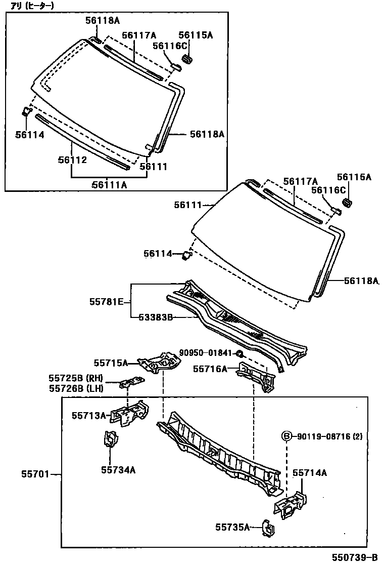
53383BSEAL, HOOD TO COWL TOP
55713APANEL, COWL TOP SIDE, RH
55714APANEL, COWL TOP SIDE, LH
55715ABRACE, COWL TOP TO APRON, RH
55716ABRACE, COWL TOP TO APRON, LH
sub55716-51011
55725BREINFORCEMENT, HOOD HINGE MOUNTING
55726BREINFORCEMENT, HOOD HINGE MOUNTING, LH
55734APLATE, WATER GUARD, RH
55735APLATE, WATER GUARD, LH
56111GLASS, WINDSHIELD
56111AGLASS, WINDSHIELD
56112DAM, WINDOW GLASS ADHESIVE, NO.2
56114RETAINER, WINDSHIELD GLASS
56115ASTOPPER, WINDSHIELD GLASS, NO.1
56116CSTOPPER, WINDSHIELD GLASS, NO.2
56117ADAM, WINDOW GLASS ADHESIVE
9011908716
main90119-08716
9095001841
main90950-01841
21 parts on this diagram · 1 diagram in section