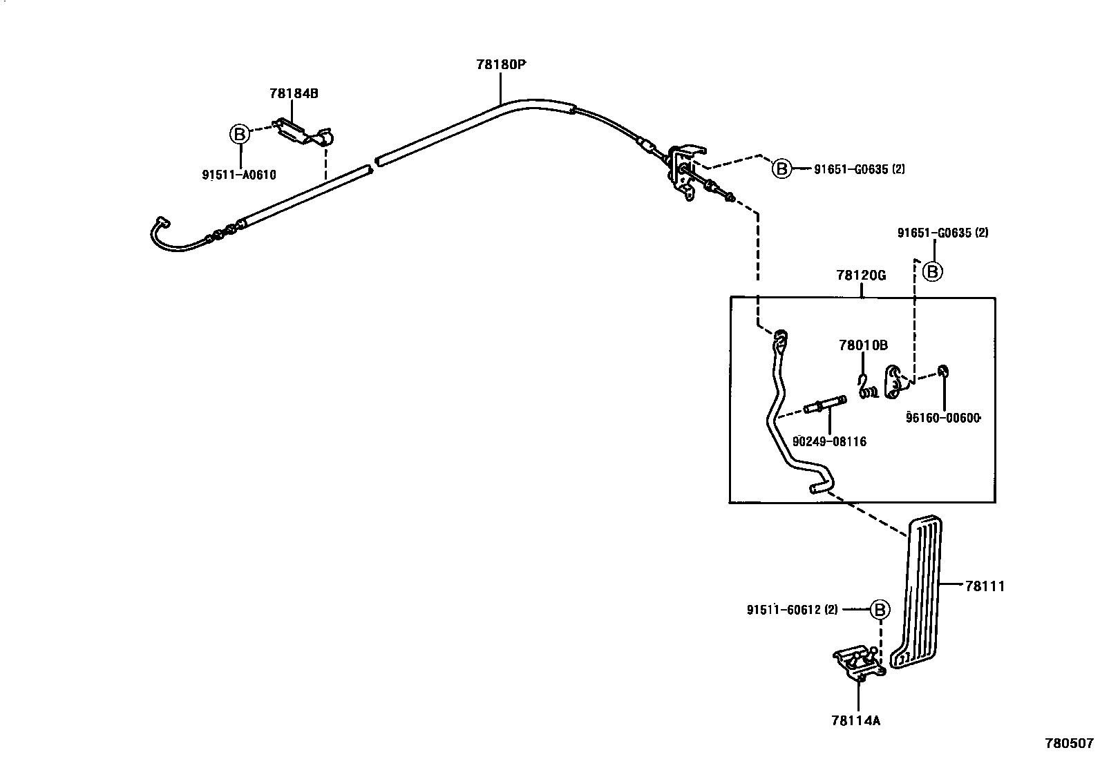
Toyota ORIGIN — ACCELERATOR LINK

78010BSPRING, TORSION (FOR ACCELERATOR LINK)
78111PEDAL, ACCELERATOR
78114ABRACKET, ACCELERATOR PEDAL SUPPORT
78120GROD ASSY, ACCELERATOR PEDAL
78180PCABLE ASSY, ACCELERATOR CONTROL
78184BBRACKET, ACCELERATOR CONTROL CABLE
9024908116
main90249-08116
9151160612
main91511-60612
91511A0610
main91511-A0610
91651G0635
main91651-G0635
9616000600
main96160-00600
11 parts on this diagram · 1 diagram in section