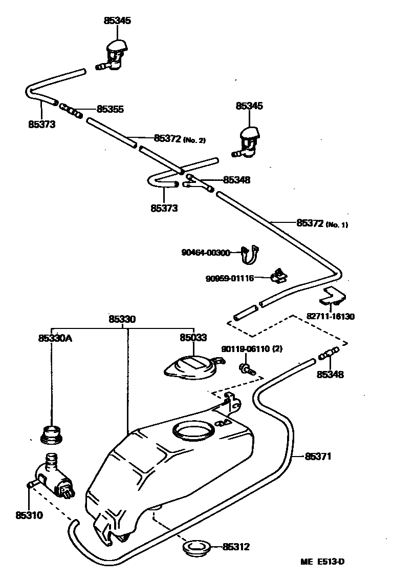
Toyota MR2 — WINDSHIELD WASHER

85033CAP ASSY, WINDSHIELD WASHER
85310MOTOR AND PUMP ASSY, WINDSHIELD WASHER
85312PACKING, WINDSHIELD WASHER TANK
85330ABUSH, WINDSHIELD WASHER JAR
85345NOZZLE, WINDSHIELD WASHER
sub85035-17030
85348JOINT, WINDSHIELD WASHER HOSE, NO.1
3-WAY
2-WAY
2-WAY
85355VALVE, WINDSHIELD WASHER HOSE
85372HOSE, WINDSHIELD WASHER (FROM JOINT TO JOINT), NO.1
8271116130WIRE, FUSE TO FUSE(FOR COMBUSTION HEATER)
main82711-16130
9011906110
main90119-06110
9046400300
main90464-00300
9095901116
main90959-01116
15 parts on this diagram · 1 diagram in section