E
EPC Data

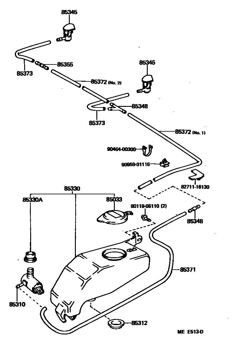
Toyota MR2WINDSHIELD WASHER

Parts diagram
85033CAP ASSY, WINDSHIELD WASHER
main85332-17020i198411-198912
85310MOTOR AND PUMP ASSY, WINDSHIELD WASHER
main85310-22080i198411-198912
85312PACKING, WINDSHIELD WASHER TANK
main85312-32010i198411-198912
85330JAR ASSY, WINDSHIELD WASHER
main85331-17010i198411-198912
main85331-17020i198411-198912
85330ABUSH, WINDSHIELD WASHER JAR
main90099-32089i198411-198912
85345NOZZLE, WINDSHIELD WASHER
main85035-17010i198411-198912
main85035-17030i198411-198912
85348JOINT, WINDSHIELD WASHER HOSE, NO.1
main85348-12250i198411-198912
3-WAY
main85349-89122i198603-198912
2-WAY
main85355-87201i198411-198603
2-WAY
85355VALVE, WINDSHIELD WASHER HOSE
main85031-12250i198411-198912
85371HOSE, WINDSHIELD WASHER (FROM MOTOR TO JOINT)
main90099-33249i198603-198803
L=1000(*H,L=455)
main90099-33249i198803-198912
L=1000(*H,L=430)
main90446-06013i198803-198912
L=1000
main90446-06013i198411-198603
L=1000(*H,L=420)
main90446-06013i198411-198803
L=1000(*H,L=490)
85372HOSE, WINDSHIELD WASHER (FROM JOINT TO JOINT), NO.1
main90099-33299i198411-198803
L=1000(*H,L=630),NO.1
main90099-33299i198803-198912
L=1000(*H,L=640),NO.1
main90446-06013i198411-198912
L=1450(*H,L=615),NO.2
85373HOSE, WINDSHIELD WASHER (FROM JOINT TO NOZZLE)
main90099-33081i198411-198912
L=1450(*H,L=110)
8271116130WIRE, FUSE TO FUSE(FOR COMBUSTION HEATER)
9011906110
9046400300
9095901116

15 parts on this diagram · 1 diagram in section

WINDSHIELD WASHER for Toyota MR2

This section contains 15 genuine Toyota parts for the WINDSHIELD WASHER system of the Toyota MR2. Key components include: CAP ASSY, WINDSHIELD WASHER, MOTOR AND PUMP ASSY, WINDSHIELD WASHER, PACKING, WINDSHIELD WASHER TANK, JAR ASSY, WINDSHIELD WASHER, BUSH, WINDSHIELD WASHER JAR.

Toyota MR2 WINDSHIELD WASHER — Parts Diagram | EPC Data