Toyota MR2 — SIDE TURN SIGNAL LAMP & OUTER MIRROR LAMP

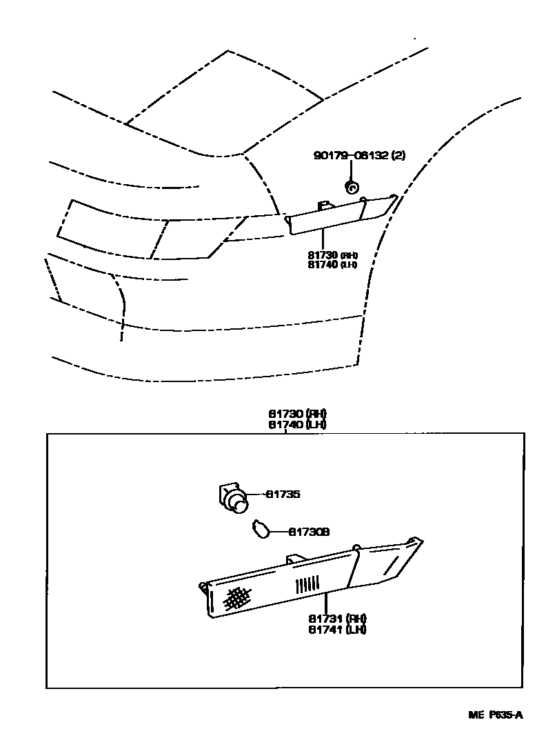
81730LAMP ASSY, SIDE TURN SIGNAL, RH
81730BBULB (FOR SIDE TURN SIGNAL LAMP)
12V 3.8W
81731LENS, SIDE TURN SIGNAL LAMP, RH
81735SOCKET AND WIRE, SIDE TURN SIGNAL LAMP
81740LAMP ASSY, SIDE TURN SIGNAL, LH
81741LENS, SIDE TURN SIGNAL LAMP, LH
9017906132
main90179-06132
7 parts on this diagram · 1 diagram in section