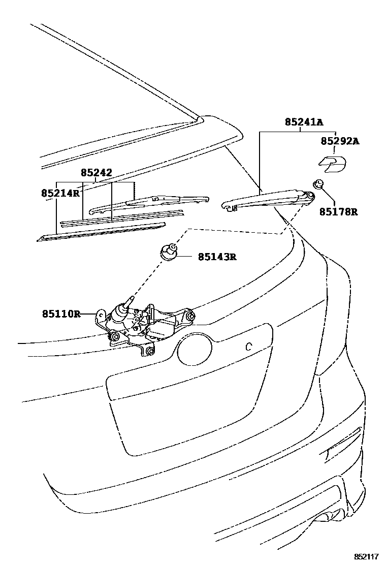
Toyota MATRIX — REAR WIPER

85110RMOTOR ASSY, REAR WIPER
REAR WINDOW WIPER-W/O; REAR WINDOW WIPER-WITH
85143RGROMMET, REAR WIPER MOTOR
REAR WINDOW WIPER-W/O; REAR WINDOW WIPER-WITH
85178RNUT (FOR REAR WIPER ARM SETTING)
(L)
REAR WINDOW WIPER-W/O; REAR WINDOW WIPER-WITH
85214RRUBBER, REAR WIPER
REAR WINDOW WIPER-W/O; REAR WINDOW WIPER-WITH
85241AARM, REAR WIPER
REAR WINDOW WIPER-W/O; REAR WINDOW WIPER-WITH
85242BLADE, RR WIPER
REAR WINDOW WIPER-W/O; REAR WINDOW WIPER-WITH
85292ACAP, REAR WIPER ARM HEAD
REAR WINDOW WIPER-W/O; REAR WINDOW WIPER-WITH
7 parts on this diagram · 1 diagram in section
REAR WIPER for Toyota MATRIX
This section contains 7 genuine Toyota parts for the REAR WIPER system of the Toyota MATRIX. Key components include: MOTOR ASSY, REAR WIPER, GROMMET, REAR WIPER MOTOR, NUT (FOR REAR WIPER ARM SETTING), RUBBER, REAR WIPER, ARM, REAR WIPER.