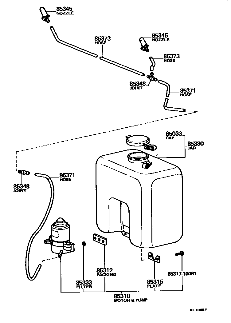
Toyota LITEACE — WINDSHIELD WASHER

85033CAP ASSY, WINDSHIELD WASHER
sub85332-10061
85310MOTOR AND PUMP ASSY, WINDSHIELD WASHER
85312PACKING, WINDSHIELD WASHER TANK
85315PLATE, WINDSHIELD WASHER PUMP
85330JAR ASSY, WINDSHIELD WASHER
sub85330-10070
85333FILTER, WINDSHIELD WASHER JAR
85345NOZZLE, WINDSHIELD WASHER
85348JOINT, WINDSHIELD WASHER HOSE, NO.1
3 WAY
85371HOSE, WINDSHIELD WASHER (FROM MOTOR TO JOINT)
L=1000(*H,L=230)
85373HOSE, WINDSHIELD WASHER (FROM JOINT TO NOZZLE)
L=50
8531710061WIRING ASSY, WASHER
main85317-10061
11 parts on this diagram · 1 diagram in section