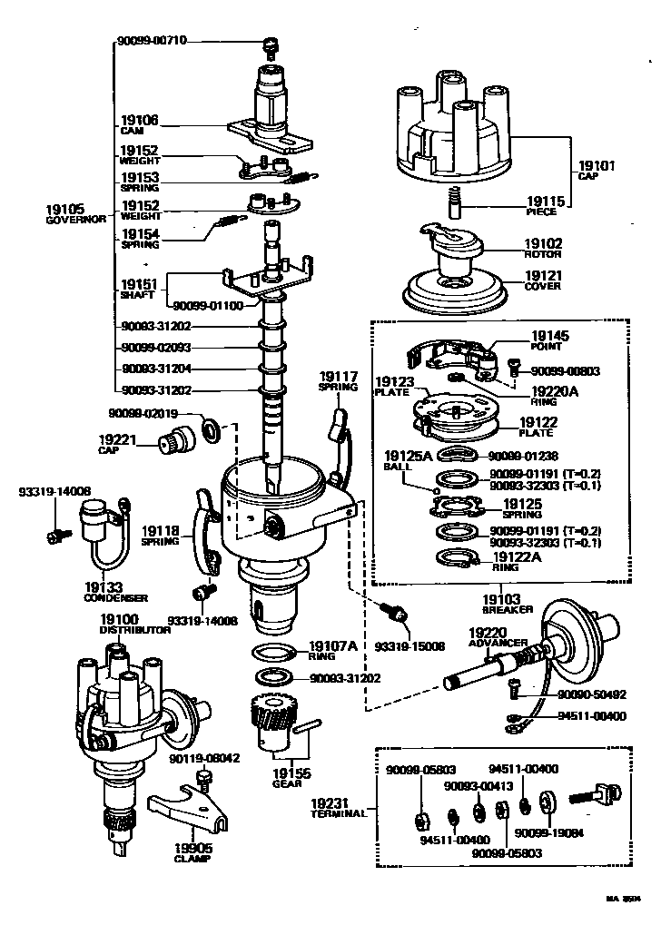
Toyota LITEACE — DISTRIBUTOR

19100DISTRIBUTOR ASSY
19101CAP SUB-ASSY, DISTRIBUTOR
19102ROTOR SUB-ASSY, DISTRIBUTOR
19103BREAKER SUB-ASSY, DISTRIBUTOR
19105GOVERNOR SUB-ASSY
19106CAM SUB-ASSY, DISTRIBUTOR
19107ARING, O, DISTRIBUTOR HOUSING
19115PIECE, DISTRIBUTOR CAP, CENTER
19117SPRING, DISTRIBUTOR CAP, A
19118SPRING, DISTRIBUTOR CAP, B
19121COVER, DUST PROOF
19122PLATE, STATIONARY, DISTRIBUTOR
19122ARING, SNAP(FOR DISTRIBUTOR STATIONARY PLATE)
19123PLATE, DISTRIBUTOR BREAKER
19125SPRING(FOR DISTRIBUTOR STATIONARY PLATE)
19125ABALL, DISTRIBUTOR STATIONARY PLATE
19133CONDENSER, DISTRIBUTOR
19145POINT, DISTRIBUTOR
19152WEIGHT, GOVERNOR
19153SPRING, GOVERNOR, A
19154SPRING, GOVERNOR, B
19155GEAR, SPIRAL, DISTRIBUTOR
19220ADVANCER ASSY, VACUUM, DISTRIBUTOR
19220ARING, SNAP(FOR DISTRIBUTOR VACUUM ADVANCER)
19221CAP, ADJUSTER, DISTRIBUTOR
19231TERMINAL, DISTRIBUTOR
19905CLAMP SUB-ASSY, DISTRIBUTOR
9009050492
main90090-50492
9009300413
main90093-00413
9009331202
main90093-31202
9009331204
main90093-31204
9009332303
main90093-32303
9009900710
main90099-00710
9009900803
main90099-00803
9009901100
main90099-01100
9009901191
main90099-01191
9009901238
main90099-01238
9009902019
main90099-02019
9009902093
main90099-02093
9009905803
main90099-05803
9009919084
main90099-19084
9011908042
main90119-08042
9331914008
main93319-14008
9331915008
main93319-15008
9451100400
main94511-00400
46 parts on this diagram · 1 diagram in section
DISTRIBUTOR for Toyota LITEACE
This section contains 46 genuine Toyota parts for the DISTRIBUTOR system of the Toyota LITEACE. Key components include: DISTRIBUTOR ASSY, CAP SUB-ASSY, DISTRIBUTOR, ROTOR SUB-ASSY, DISTRIBUTOR, BREAKER SUB-ASSY, DISTRIBUTOR, GOVERNOR SUB-ASSY.