E
ToyotaEPC

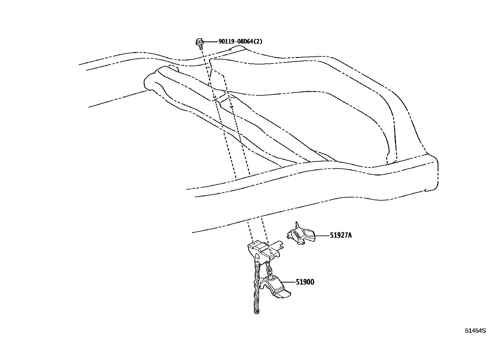
Toyota LEXUS GX550SPARE WHEEL CARRIER

Parts diagram
51900CARRIER ASSY, SPARE WHEEL
main51900-60380i202405
51927AGUIDE, SPARE WHEEL
main51927-60080i202405
9011908D64

3 parts on this diagram · 1 diagram in section

SPARE WHEEL CARRIER for Toyota LEXUS GX550

This section contains 3 genuine Toyota parts for the SPARE WHEEL CARRIER system of the Toyota LEXUS GX550. Key components include: CARRIER ASSY, SPARE WHEEL, GUIDE, SPARE WHEEL.

Toyota LEXUS GX550 SPARE WHEEL CARRIER — Parts Diagram | ToyotaEPC