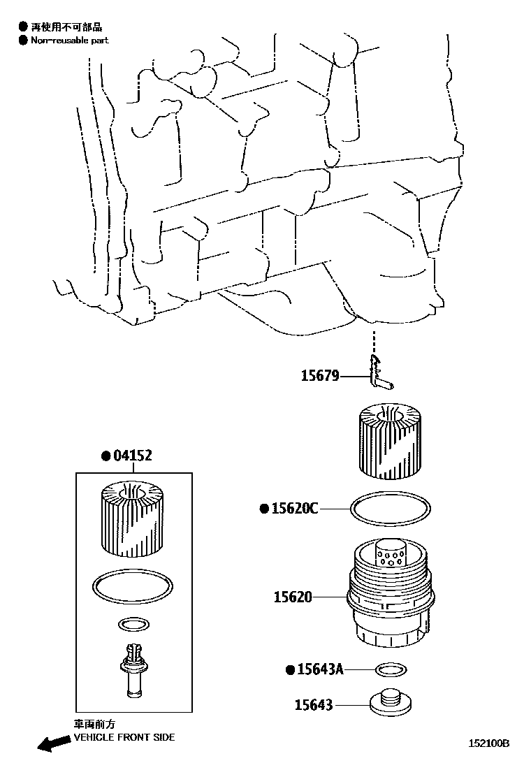
Toyota LEXUS GS SERIES — OIL FILTER

04152ELEMENT KIT, OIL FILTER
15620CAP ASSY, OIL FILTER
15620CGASKET(FOR OIL FILTER CAP)
15643PLUG, OIL FILTER DRAIN
15643ARING, O(FOR OIL FILTER DRAIN PLUG)
6 parts on this diagram · 4 diagrams in section

6 parts on this diagram · 4 diagrams in section