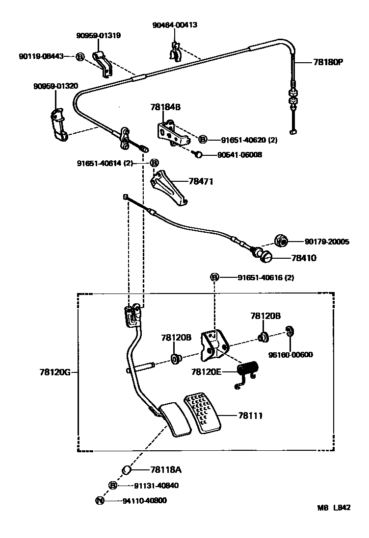
Toyota LAND CRUISER — ACCELERATOR LINK

78111PEDAL, ACCELERATOR
78118ASTOPPER, ACCELERATOR PEDAL
78120BBUSH (FOR ACCELERATOR LINK ROD)
78120ESPRING, TENSION (FOR ACCELERATOR LINK ROD)
78180PCABLE ASSY, ACCELERATOR CONTROL
78184BBRACKET, ACCELERATOR CONTROL CABLE
78471BRACKET, THROTTLE CONTROL CABLE
9011908443
main90119-08443
9017920005
main90179-20005
9046400413
main90464-00413
9054106008
main90541-06008
9095901319
main90959-01319
9095901320
main90959-01320
9113140840
main91131-40840
9165140614
main91651-40614
9165140616
main91651-40616
9165140620
main91651-40620
9411040800
main94110-40800
9616000600
main96160-00600
21 parts on this diagram · 2 diagrams in section
ACCELERATOR LINK for Toyota LAND CRUISER
This section contains 21 genuine Toyota parts for the ACCELERATOR LINK system of the Toyota LAND CRUISER. Key components include: PEDAL, ACCELERATOR, STOPPER, ACCELERATOR PEDAL, BUSH (FOR ACCELERATOR LINK ROD), SPRING, TENSION (FOR ACCELERATOR LINK ROD), ROD ASSY, ACCELERATOR PEDAL.