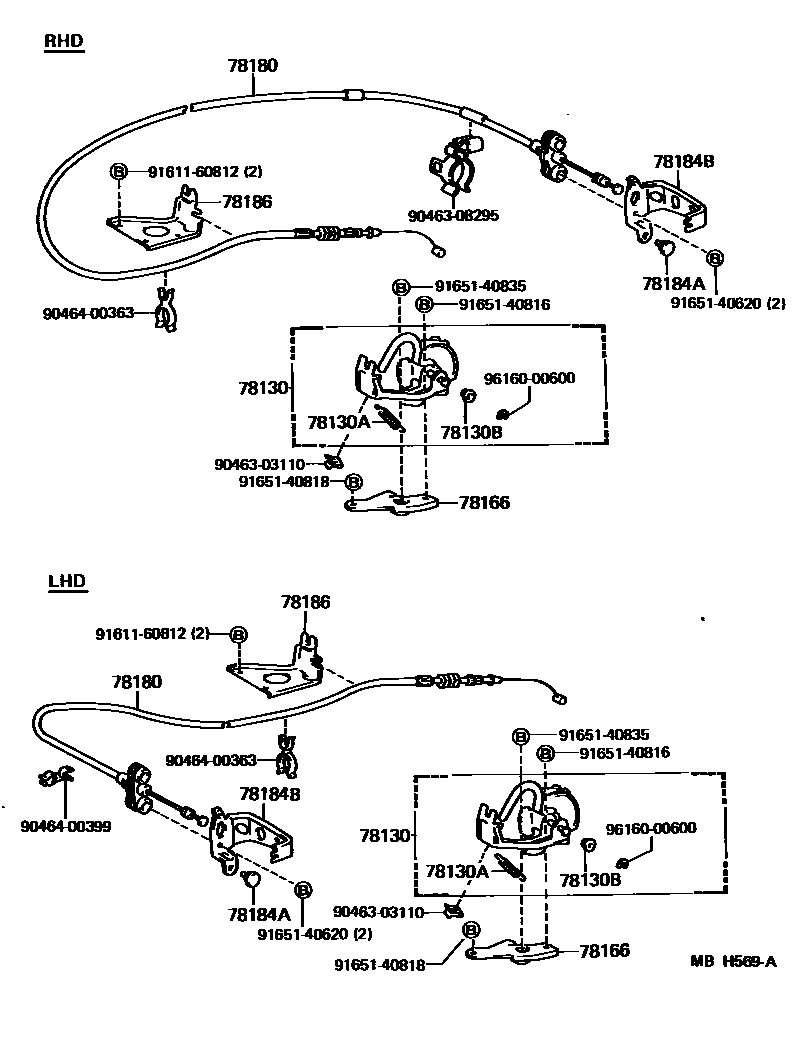
Toyota LAND CRUISER — ACCELERATOR LINK

78130BELLCRANK ASSY, ACCELERATOR
78130ASPRING (FOR ACCELERATOR ROD RETURN)
78130BBUSH, ACCELERATOR BELLCRANK
78166BRACKET, ACCEL CONTROL NO.2 BELLCRANK
78180WIRE ASSY, ACCELERATOR
78184ACUSHION (FOR ACCELERATOR ADJUST STOPPER CHANNEL)
78184BBRACKET, ACCELERATOR CONTROL CABLE
78186SUPPORT, ACCELERATOR CONTROL CABLE, NO.1
9046303110
main90463-03110
9046308295
main90463-08295
9046400363
main90464-00363
9046400399
main90464-00399
9161160812
main91611-60812
9165140620
main91651-40620
9165140816
main91651-40816
9165140818
main91651-40818
9165140835
main91651-40835
9616000600
main96160-00600
18 parts on this diagram · 8 diagrams in section
ACCELERATOR LINK for Toyota LAND CRUISER
This section contains 75 genuine Toyota parts for the ACCELERATOR LINK system of the Toyota LAND CRUISER. Key components include: BUSH (FOR ACCELERATOR LINK), LINK ASSY, ACCELERATOR, SPRING (FOR ACCELERATOR LINK), ROD SUB-ASSY, ACCELERATOR CONNECTING, NO.1, ROD SUB-ASSY, ACCELERATOR CONNECTING, NO.2.