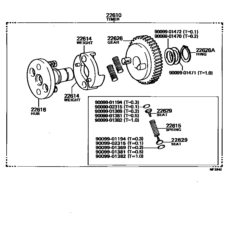
Toyota LAND CRUISER VAN — AUTOMATIC TIMER

22610TIMER ASSY, AUTOMATIC
22614WEIGHT, TIMER
22626ARING, CLAMP(FOR DRIVE GEAR)
22629SEAT, SPRING(FOR TIMER SPRING)
9009901194
main90099-01194
9009901369
main90099-01369
9009901381
main90099-01381
9009901382
main90099-01382
9009901470
main90099-01470
9009901471
main90099-01471
9009901472
main90099-01472
9009902315
main90099-02315
15 parts on this diagram · 2 diagrams in section