E
EPC Data
Pricing
Sign In
Home
›
Toyota
›
IPSUM
›
VENTURI
Toyota IPSUM — VENTURI
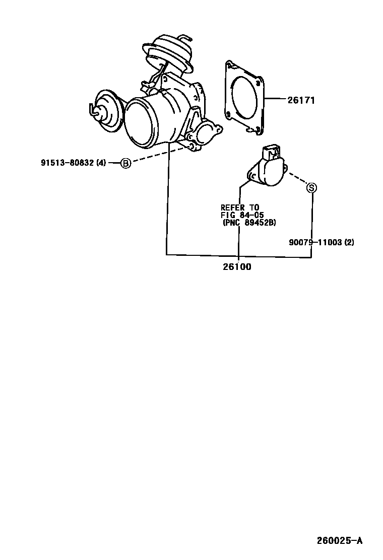
26100
VENTURI ASSY
main
26100-64040
i
3CTE..CXM10
199709
26171
GASKET, VENTURI
main
26171-64020
i
3CTE..CXM10
199709
8405
9007911003
main
90079-11003
9151380832
main
91513-80832
5 parts on this diagram · 1 diagram in section